Doctor of Philosophy (PhD) in technical sciences, Qarshi State Technical University, Uzbekistan, Qarshi
IMPROVING SEPARATOR DEVICES FOR GAS PURIFICATION
ABSTRACT
Raw gas extracted from the ground requires effective purification, and separator devices play a crucial role in this process. In the oil and gas industry, the conventional primary separation efficiency of separators is often insufficient. Therefore, improving the purification efficiency of separator devices remains a significant challenge. In this study, it is proposed to enhance the performance of a vertical separator by modifying its internal structure. By introducing a baffle at the inlet of the separator that divides the flow into two sections, the first section forces the gas to move upward and circulate along the baffles, allowing heavy solid particles in the gas to settle. In the second section, a tangential motion is imparted to form a cyclone structure. In the lower part, the gas is cleaned due to centrifugal forces, and the resulting increase in gas pressure propels the cleaned gas upward. This also facilitates the upward movement of the already cleaned portion from the upper section. An experimental separator was constructed in the proposed configuration, and tests were conducted. The experimental results are presented in graphical form. It was found that the gas flow rate through the separator is related to its operating volume. The structural modifications to the separator’s internal design can be used to develop an optimal scheme for gas purification.
АННОТАЦИЯ
Аппараты-сепараторы имеют большое значение при очистке сырья, добываемого из земли в виде газа. В нефтегазовой промышленности эффективность очистки сепараторов традиционных первичных методов разделения недостаточно высока. Поэтому повышение степени очистки сепараторов является одной из важных задач. В данной научной работе предложено повысить эффективность вертикального сепаратора путем изменения его внутренней конструкции. При очистке газа на входе сепаратора установлен перегородочный элемент, разделяющий поток на две части. В первой части газ движется вверх, обтекая перегородки по кругу, в результате чего тяжелые твердые частицы отделяются из газа. Второй части сообщено тангенциальное движение, что формирует структуру циклона. В этой нижней части газ под действием центробежной силы очищается и, за счет увеличения давления, движется вверх, помогая выводить очищенный газ из верхней части. Была создана опытная модель сепаратора с предложенной конструкцией, проведены эксперименты. Полученные результаты представлены в виде графиков. Было установлено, что расход газа через сепаратор зависит от его рабочего объема. Внесенные конструктивные изменения во внутреннюю структуру сепаратора позволяют использовать его в качестве оптимальной схемы для очистки газа.
Keywords: pressure, flow, consumption, dust particles, separator, filters, separators, conical, density, acids
Ключевые слова: давление, поток, расход, частицы пыли, сепаратор, фильтры, разделители, конический, плотность, кислоты.
Introduction.
The process of natural gas purification, which is critical in modern industrial enterprises, plays an important role not only in increasing production efficiency but also in ensuring environmental safety, improving occupational health, and extending the reliable operational life of technological equipment. In oil and gas, chemical, energy, metallurgical, and other heavy industries, gases generated during production processes often contain components harmful to industrial operations. These include dust particles, liquid droplets, acids, tarry substances, heavy hydrocarbons, and other hazardous mixtures. If these pollutants enter the technological line without proper treatment, they can clog pipelines, form deposits in heat exchangers, or lead to premature equipment failure. Moreover, the presence of high concentrations of harmful substances in gases released into the atmosphere violates environmental standards and negatively impacts the surrounding ecosystem.
Therefore, the efficient purification of raw gases has become an integral part of the industrial production chain. Currently, various gas purification devices—such as cyclones, filters, scrubbers, adsorbers, and centrifuges—operate based on different principles. However, their efficiency depends on numerous factors, including gas composition, pressure and temperature conditions, design features of the device, flow velocity, and the physico-chemical properties of the separated particles. Consequently, the continuous modernization of gas purification technologies, the implementation of next-generation separators, and the operation of existing equipment under optimal conditions remain among the most pressing challenges in the field today.
In the oil and gas industry, separators are considered one of the key pieces of equipment. Their primary function is the efficient separation of various phases present in crude oil, such as oil, water, and gas, to facilitate subsequent processing and refinement. However, the efficiency of separators is often not high and can decrease under the influence of various complex factors. These factors interact with each other, preventing the separator from performing its function effectively [1]. This paper examines the numerous factors affecting the performance of separators. Recommendations are also presented for ensuring the efficient operation and practical optimization of separators in the oil and gas industry.
Research Methods.
In the oil and gas industry, various purification methods are employed to remove particles, liquids, and other contaminants from gas streams. Some of these methods utilize filters, cyclones, settling chambers, separators, or electrostatic techniques to separate solid and liquid particles from the gas flow. Gas purification can also be achieved through chemical treatment methods. These approaches are typically applied in industrial and energy sectors to clean natural raw gases and waste gases before their release into the atmosphere [2]. The choice of gas purification methods and equipment depends on the type of technological or preparatory process, the physico-chemical properties of contaminants, the concentration and volume of harmful substances, and the operational conditions of the facility. The calculation and selection of gas purification equipment are carried out either during the plant design phase or as part of design solutions for existing technologies [3]. Crude oil extracted from wells often contains significant amounts of associated gas. Moreover, during the design and operation of the equipment, gas management devices can be incorporated to facilitate proper gas discharge, reduce gas residence time in the separator, and further enhance separator efficiency [4].
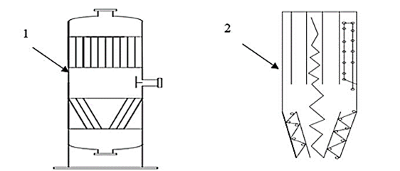
The use of chemicals in gas purification is a frequently employed method for optimizing separator performance. However, such methods can face challenges, including uneven distribution of chemicals, which may negatively affect separation efficiency. To address this issue, a phase injection approach is proposed, whereby water-soluble chemicals are introduced below the interface layer and oil-soluble chemicals are injected above the interface layer, allowing for targeted treatment of the interfacial region [5]. Among the methods for removing various harmful impurities from natural gas, optimizing the separator structure is considered the most cost-effective and convenient. The efficiency equation of a separator shows a direct relationship with the square of droplet diameter and an inverse relationship with the height of the flow path. r. However, increasing gas residence time also increases the size of the equipment, production costs, and space requirements. Therefore, residence time must be carefully optimized to achieve the shortest possible gas retention that still meets separation requirements [6]. Crude gas often contains various liquid and solid substances. The structural design of the separator plays a critical role in removing solid particles. One of the most effective methods for separating solids from gas involves the use of inversion forces and baffles. Based on this principle, constructive modifications were made to the internal structure of the separator (Figure 1). By adding a dividing baffle at the gas inlet, the flow is split into two sections. In the first section, gas moves upward and circulates through baffles, allowing heavy solid particles to settle and be removed. In the second section, tangential motion is induced, creating a cyclone-like structure. In this lower section, cleaned gas moves upward due to centrifugal forces and increased pressure, assisting in carrying the purified portion from the upper section out of the separator.
/Jo‘rayev.files/image001.png)
Figure 1. Separator and its internal structure:
1 – Separator; 2 – Internal element of the separator.
The developed separator device receives a gas stream that has passed through a single-stage purification. This stream then splits into two sections and begins to move separately. In the upper section, gas flows through spiral plates, causing heavy particles to adhere to the plates and settle downward. In the lower section, the gas moves in a vortex-like motion between layers of plates, similar to a cyclone. During the downward vortex motion, the lower section narrows, increasing gas pressure and generating upward movement from the center. Fine particles settle under the influence of gravity. Similarly, in the upper section, the central area of the spiral plates also directs the flow upward, and the centers of both sections converge at one point. This proposed separator device has proven to be highly efficient for the installed line and is designed for particles larger than 2 µm, achieving a purification efficiency of 98%. The separator is manufactured from carbon steel, which does not react with the gas environment.
Results and Discussion.
Purifying extracted gases using simple settling devices is quite challenging. The volume of extracted gas often does not correspond well with the capacity of settling devices, and as a result, the purification efficiency is relatively low. Therefore, separators are widely used for gas purification. Separators typically consist of cylindrical and conical sections. The device includes outlets for purified gas and dust collection. Gas enters the lower part of the device tangentially at high velocity and then moves downward in a spiral motion. This generates a centrifugal force, causing solid particles in the gas stream to move toward the inner walls of the device, where they adhere, lose kinetic energy, and settle downward under the influence of gravity.
In the lower conical section of the separator, the gas continues its spiral motion due to inertia, generating an upward flow. The purified gas joins the central tube and moves upward, merging with the purified gas in the upper section before exiting the device. The upper part of the separator is cylindrical, with metal plates wound spirally. In each spiral, the gas moves in a circular motion, and particles adhering to the plates settle downward under gravity. The purification efficiency of dusty gas in the separator depends on the size of solid particles, the gas flow velocity, and the geometric dimensions of the device. Several factors influence the overall efficiency of the separator, including the physicochemical properties of gas and liquids, gas flow velocity and volume, the separator’s structural design, operating conditions (pressure and temperature), separator dimensions (diameter and height), the presence of emulsions or foams in the flow, and improper operation of the separator. The ease of separation in a separator depends on the physicochemical properties of the medium, particularly the density difference between the liquid and gas phases (ρs - ρg). The larger this difference, the easier the separation. If the densities of the phases are similar, separation in the device becomes more difficult. Therefore, it is essential to match the gas flow rate with the separator volume. In gas-liquid separators, an increase in pressure improves the ability to separate gas from liquid. Changes in temperature affect the density, viscosity, and vapor pressure of the fluid, which in turn influence separator performance [7]. The determination of separator volume depends on the type of separator (horizontal or vertical), the number of phases to be separated (two-phase or three-phase), and the physicochemical properties of the components in the flow. Below are the basic formulas commonly used for a vertical two-phase (gas-liquid) separator :
where: (V) is the volume required for the liquid phase, m³; (Q) is the flow rate of gas or liquid, m³/h; (t) is the residence time required for separation, s [8]. The volume required for the liquid phase can be determined as:
/Jo‘rayev.files/image003.png)
where: (VL) is the volume of the separation zone for the liquid and solid particles, m³; (QL) is the gas flow rate, m/s. To allow droplets in the gas to settle, an adequate separation height is required, which is determined by the gas’s cross-sectional velocity:
/Jo‘rayev.files/image004.png)
where: (A) is the cross-sectional area of the separator for the gas flow, m²; (Qg) is the gas flow rate, m³/s; (v_g) is the allowable gas velocity inside the separator, m/s [9]. From the cross-sectional area, the separator diameter can be calculated as:
/Jo‘rayev.files/image005.png)
The total height of the separator is given by:
/Jo‘rayev.files/image006.png)
where: Hl is the height of the liquid section (Hs) is the settling zone heigh(typically 10–20% is added); (Hm) is the height of the separation device; (Hg) is the height required for gas phase separation [10]. The total volume of the separator can then be calculated as:
/Jo‘rayev.files/image007.png)
In real operations, factors such as turbulent gas motion and changes in temperature and pressure are present. These can lead to an actual residence time of gas in the separator that is slightly longer than the calculated time. During the design and operation phases, these factors must be considered. Measures such as optimizing the flow channel design and controlling the gas velocity can minimize the effects of turbulence and water separation, ensuring effective separation even with shorter residence times.
/Jo‘rayev.files/image008.png)
Figure 2. Dependence of gas residence time in the separator on the separator’s working volume
As a result of modifications made to the internal structure of the separator device, changes in the working volume affect the gas residence time in the device, which in turn influences the gas purification efficiency. As shown in Figure 2, an increase in the working volume of the separator leads to a longer gas residence time within it. The gas purification efficiency also improves, reaching optimal performance when the working volume is 10 m³ and the gas residence time in the device is 38 s. The internal modifications of the separator promote collisions between particles and liquid droplets, which is beneficial for the separation process. After collisions, droplets merge into larger ones, while particles collide with each other, accelerating their settling rate. This reduces the separation time and enhances the separation efficiency. To ensure increased collisions of liquid and particles with the separator plates, favorable conditions must be created to stabilize the flow field. This can be achieved by adjusting the flow velocity, enhancing turbulence within the flow channel, increasing the relative motion of particles, and raising the likelihood of collisions with the walls. By installing plates in the working volume of the separator and intelligently designing the internal structure of the separator—such as incorporating coalescing packing—the direction of liquid and particle movement can be controlled, increasing the probability of collisions and thereby improving separation efficiency.
Conclusions.
To ensure the long-term effective operation of separators, it is necessary to harmonize internal factors. The structural design of the separator is adapted to capture various fine particles. The internal structure of the separator allows its upper and lower parts to work proportionally due to the complex motion of gas. This complex gas flow assists in the separation of different particles. Based on experimental results, although the hydraulic resistance of the device is slightly higher, the gas purification efficiency reaches 98%. This outcome demonstrates the effectiveness of the gas purification technology and its practical applicability in the field. Proper matching of the device’s working volume with the gas flow enhances gas purification efficiency. Modifications made to the internal structure of the separator have resulted in improved efficiency in purifying naturally extracted gas.
References:
- Dmitriev, A.V., Zinurov, V.E., Dmitrieva, O.S., Nguyen, V.L. (2018). Efficiency of a rectangular separator depending on the design of internal elements of the apparatus. Vestnik KGEU, 10(1), 37, Energy.
- Rajabboyev, A.I., Abdulloyev, H.R. (2023). Analysis of gas purification by mechanical methods. Science and Education Scientific Journal, 4(12). Retrieved from www.openscience.uz
- Ganieva, G.R., Niradgnani, P.A. Modernization of two-phase oil and gas separator. Nexo. Copyright. Retrieved from http://revistas.uni.edu.ni/index.php/Nexo
- Shamkhanov, M.Ch. (2021). Gas purification from hydrogen sulfide and sulfur-containing compounds. Vestnik Magistratury, 5-5(116). ISSN 2223-4047.
- Trulev, A.V., Timushev, S.F., Lomakin, V.O., Klipov, A.V. (2023). Features of improving the reliability and efficiency of gas separators of submersible electrocentrifugal pump installations for formation fluid extraction. Izvestiya VUZ. Mashinostroenie, 5(758).
- Shestakova, E., Bulyukova, F., Zainagalina, L., Davydov, A., Zaylalova, V. (2025). Improvement of the standard device for entering a gas-liquid mixture into a gas separator. E3S Web of Conferences, 623, 02020. https://doi.org/10.1051/e3sconf/202562302020
- Feodorov, A.B., Afanasov, V.I., Miroshnikov, R.S., Bogachev, V.V. (2017). Concept of modernization of the input device of oil and gas separator. IOP Conference Series: Earth and Environmental Science, 87, 082020. https://doi.org/10.1088/1755-1315/87/8/082020
- Akhmetzanova, R.N., Emelyanycheva, E.A., Abdullin, A.I. (2021). Improvement of the operation of oil and gas separators. Bulatovskie Chteniya: Collection of Articles.
- Lia, H., Chen, J., Wang, J., Gong, J., Yu, B. (2018). An improved design method for compact vertical separator combined with theoretical method and numerical simulation. Journal of Petroleum Science and Engineering. Received 3 April 2018; revised 4 July 2018; accepted 22 October 2018. Retrieved from www.elsevier.com/locate/petrol
- Zhi, R., Lei, B., Zhang, C., Ji, W., Wu, Y. (2021). Experimental study of single screw expander with different oil-gas separators in compressed air powered system. Energy. https://doi.org/10.1016/j.energy.2021.121371