докторант, Ташкентский институт текстильной и легкой промышленности, Республика Узбекистан, г. Ташкент
РАЗРАБОТКА ЭФФЕКТИВНОЙ КОНСТРУКЦИИ УСТРОЙСТВА ДЛЯ РЕЗКИ ТЕКСТИЛЬНЫХ ОТХОДОВ
АННОТАЦИЯ
В статье рассмотрены методы переработки текстильных отходов и выявлены их недостатки, включая повреждение волокон и образование неразрыхлённых фрагментов. Разработана усовершенствованная конструкция ротационного режущего устройства с резиновыми амортизаторами, обеспечивающая крутильно-колебательные движения подвижных ножей и повышение эффективности резки. Лабораторные эксперименты показали высокий уровень восстановления волокон (89,5%) при минимальном количестве неразрыхлённых нитей и кусочков обрезков, со средней длиной волокон 25,4 мм. Предложенная конструкция снижает количество дефектов, улучшает равномерность подачи материала и обеспечивает рациональное использование вторичного сырья, что подтверждает её практическую ценность для промышленных линий переработки текстильных отходов.
ABSTRACT
The article examines methods for processing textile waste and identifies their main drawbacks, including fiber damage and the formation of unbroken fragments. An improved design of a rotary cutting device with rubber dampers is proposed, providing torsional-oscillatory motion of the movable knives and enhancing cutting efficiency. Laboratory experiments demonstrated a high regenerated fiber yield (89.5%) with minimal unbroken threads and fabric fragments, and an average fiber length of 25.4 mm. The proposed device reduces defects, ensures uniform material feeding, and promotes the efficient use of secondary raw materials, confirming its practical value for industrial textile waste processing lines.
Ключевые слова: текстильные отходы, восстановленное волокно, режущее устройство, крутильно-колебательные движения, переработка вторичного сырья, эффективность резки.
Keywords: textile waste, regenerated fiber, cutting device, torsional-oscillatory motion, secondary raw material processing, cutting efficiency.
Введение. В современных условиях устойчивого развития особое внимание уделяется вопросам рационального использования природных и материальных ресурсов, энергосбережению и внедрению безотходных технологий. Одним из эффективных направлений решения этих задач является повторное использование и переработка вторичных материальных ресурсов, что способствует снижению себестоимости продукции и уменьшению негативного воздействия на окружающую среду.
В текстильной промышленности данные тенденции проявляются в повышенном интересе к технологиям переработки текстильных отходов и увеличению объемов производства пряжи с использованием вторичного сырья. Это позволяет не только экономить первичное сырье, но и существенно повысить эффективность производственных процессов.
Расход сырья составляет основную часть материальных затрат при производстве пряжи, поэтому вопросам рационального использования и экономии сырья в текстильной промышленности уделяется большое внимание [1–5]. Рост объемов продукции основывается на глубокой переработке сырья и увеличении выпуска изделий с высокой добавленной стоимостью. В связи с этим особую актуальность приобретает задача расширения сырьевой базы за счет вовлечения во вторичный оборот текстильных отходов и вторичных материалов [1–5].
Процесс переработки текстильных технологических отходов и вторичных ресурсов включает два основных этапа – подготовку и разволокнение. Отходы, не требующие предварительной очистки, нарезают и подвергают разволокнению на щипальных машинах. Нарезка осуществляется на специальных устройствах, включающих питающее и транспортирующее оборудование, а также режущий механизм гильотинного или роторного типа [6–10].
Несмотря на имеющиеся разработки, существующие методы разволокнения текстильных отходов имеют ряд недостатков. Основными из них являются высокая степень повреждения волокон при механическом воздействии, неравномерность получаемой волокнистой массы, образование значительного количества коротких волокон и неразрыхленных фрагментов ткани. Кроме того, применяемые конструкции режущих и щипальных машин не всегда обеспечивают стабильность подачи материала и требуемую интенсивность разрыхления. Это обуславливает необходимость совершенствования технологических и конструктивных решений, направленных на повышение эффективности процесса разволокнения и улучшение качества получаемого восстановленного волокна.
Теоретическая часть. Для устранения недостатков существующих методов и повышения эффективности подготовки текстильных отходов к процессу разволокнения была разработана эффективная конструктивная схема устройства для резания текстильных отходов, обеспечивающая повышение производительности за счет непрерывной подачи материала и использования ножей, совершающих вращательно-крутильные колебания. Конструкция была усовершенствована путем включения двух пильчатых валиков и реализации вращения ротора с переменной угловой скоростью [11].
Предлагаемая конструкция устройства для резания текстильных отходов включает зону питания в виде наклонных питающих столиков, узлы неподвижного и подвижных ножей. В зоне питания установлены два рифленых валика вытяжного прибора, к которому примыкает питающий столик с возможностью регулировки положения неподвижного ножа. Конструкция подвижных ножей снабжена дополнительной промежуточной опорой в виде стакана, обеспечивающего точную фиксацию и регулировку в торцевых зонах.
Устройство оснащено двумя транспортерами – для подачи и для вывода материала. В зоне питания расположены два режущих валика с дисковыми ножами. Подвижные ножи закреплены в роторе посредством упругих резиновых втулок, которые при работе деформируются и обеспечивают ротору вращательно-крутильные колебания с переменной амплитудой и частотой. Это способствует эффективному процессу резания текстильных отходов.
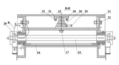
Режущие валики с дисковыми ножами обеспечивают продольную нарезку материала на полосы, перпендикулярно направлению его движения. На рис.1 представлена общая конструктивная схема ротационной резательной машины, а также узлов регулировки положения режущих рабочих органов. Приведены схемы регулировочно-фиксирующего элемента в торцевой части подвижного ножа. Дается общая схема режушего валика с дисковыми ножами, зона установки узла подвижных ножей к ротору, а также сечение С-С.
Устройство (рис. 1) состоит из подающего транспортёра 1 и установленных после него двух режущих валиков 34 с дисковыми ножами 35, вращающимися во взаимно противоположных направлениях. За режущими валиками размещён выравнивающий вытяжной питающий прибор 2, включающий рифлёные валики, а также примыкающий к нему питающий столик 3, снабжённый двумя крепёжно-регулировочными винтами 4 и 5.
К стойке 6 при помощи бруса 8 Т-образной формы крепится неподвижный нож 7, положение которого регулируется винтами 9 и 10. Конструкция включает приводные валы с установленными на них дисковыми ножами 35, между которыми расположены четырёхслойные прокладки 36. В усовершенствованной конструкции к неподвижному ножу примыкает вращающийся ротор, состоящий из двух узлов подвижных ножей 11. Каждый узел закреплён на фланцах 12 при помощи винтов 13 и установленных на стаканах 14, которые фиксируются винтами 15. Стаканы 14 соединены с трубой 16 с помощью винтов 17. Фланцы 12 соединены между собой и дополнительно закреплены на трубе посредством стяжек 18. Вращающий вал 19 установлен в подшипниках, размещённых в корпусе 20.
П-образные детали 21 прочно закреплены на фланцах 12 при помощи болтов 22. На П-образных деталях и фланцах предусмотрены регулировочные ушки 23 и 24, соединённые между собой шпилькой 25 и зафиксированные гайками 26 и 27.
/Shodieva1.files/image001.jpg)
/Shodieva1.files/image002.png)
/Shodieva1.files/image003.jpg)
/Shodieva1.files/image004.jpg)
/Shodieva1.files/image005.jpg)
Рисунок 1. Конструктивная схема предлагаемого устройства для резки текстильных отходов
П-образные детали 21 установлены на валу 19 посредством резиновых втулок 37 и втулок 38. Эти элементы соединены между собой специальным клеевым составом, обеспечивающим надёжную фиксацию и передачу крутильных колебаний. Втулка 38 установлена на валу 19 при помощи шпонки 39, что исключает проскальзывание при вращении.
Принцип работы устройства. Работа предлагаемого устройства основана на поэтапной подаче, резке и транспортировке текстильных отходов с обеспечением равномерного формирования лоскутов заданных размеров.
Текстильные отходы поступают на подающий транспортер 1 (рис. 1), с выхода которого они направляются в рабочую зону, где установлены режущие валики 34 с дисковыми ножами 35. В процессе резания текстильные отходы разрезаются на продольные полоски, ширина которых соответствует шагу между дисковыми ножами 35 валика 34. Полученные полоски под действием вытяжных рифлёных валиков 2 равномерно транспортируются далее по технологическому потоку.
Глубина и форма рифлей на валиках 2 выбираются в зависимости от типа перерабатываемых текстильных отходов, а также от метода и технологии их последующей обработки. Питающий прибор посредством вытяжки направляет лоскуты в зону резания под углом около 45° к направлению нитей текстильного отхода. При чрезмерно жёсткой фиксации нитей возможен их разрыв и повреждение волокон. Для предотвращения этого угол наклона питающего столика регулируется при помощи двух крепёжно-регулировочных винтов 4 и 5.
Режущие кромки неподвижного ножа 7 по отношению к верхней рабочей поверхности столика, а также траектории перемещения подвижных ножей 11 устанавливаются с использованием измерителя Т-образной детали 8 путём вращения регулировочных винтов 9 и 10. Эффективность резания во многом определяется величиной зазора между подвижным и неподвижным ножами; он подбирается в зависимости от вида перерабатываемых отходов и регулируется изменением положения рабочих поверхностей подвижных ножей.
Положение подвижного ножа на поверхности фланцев 12 регулируется винтами 13 и 15, а также изменением положения П-образной детали 21 посредством вращения шпильки 25 и стягивания регулировочных ушек 23 и 24. После настройки положение фиксируется гайками 26 и 27, а также винтами 13. Необходимое положение режущей кромки подвижного ножа уточняется регулировочными винтами 32, что обеспечивает требуемый зазор между неподвижным 7 и подвижными 11 ножами для эффективной резки при переменном крутильно-колебательном вращении ротора.
Вал 19 ротора вращается с постоянной угловой скоростью. В процессе резания под действием сопротивления материала происходит упругая деформация резиновых втулок 37 в окружном направлении. Благодаря восстанавливающей силе этих втулок создаётся крутильно-колебательное движение узлов подвижных ножей 11, что повышает эффективность резания за счёт появления дополнительных угловых ускорений и инерционных сил.
Полученные лоскуты выводящим транспортером 33 подаются к следующей машине поточной линии, предназначенной для дальнейшего разделения и переработки материалов.
Результаты экспериментов. Для оценки эффективности и совершенствования процессов подготовки текстильных отходов к переработке были проведены экспериментальные исследования работы режущего устройства при разделении швейных лоскутов на волокнистую массу.
Для оценки влияния режущей машины на процесс получения восстановленного волокна из швейных лоскутов в лабораторных условиях ООО «Euroazia Alliance Tex» было разработано и обоснованы параметры экспериментального малогабаритного режущего устройства. Швейные трикотажные лоскуты разрезались на режущей машине на длину 40 - 60 мм.
Затем были проведены эксперименты по получению восстановленного волокна путём обработки разрезанных швейных трикотажных лоскутов на щипальной машине, в результате чего были получены образцы восстановленных волокон. Проведённый экспериментальный анализ показал, что после пропускания обрезков через щипальную машину количество восстановленных волокон в волокнистой массе составило 89,5%, количество неразрыхлённых нитей – 9,3%, неразрыхлённых кусочков обрезков – 1,2%, а средняя длина восстановленных волокон из обрезков – 25,4 мм.
Проведённые экспериментальные исследования подтвердили высокую эффективность разработанной конструкции режущего устройства. Усовершенствованная режущая машина, применяемая при подготовке швейных обрезков и лоскутов к восстановлению волокна, обеспечила более равномерное резание материала и снижение числа дефектов, возникающих в процессе переработки. В частности, отмечено уменьшение количества неразрыхлённых кусочков ткани и остатков нитей. Повышение эффективности процесса резания достигнуто за счёт оптимизации конструктивных и динамических параметров режущего устройства, что подтверждает целесообразность его внедрения в технологический процесс получения восстановленного волокна.
Вывод. Проведён анализ существующих конструктивных схем устройств для резки текстильных отходов и выявлены их основные недостатки, включая повреждение волокон и образование неразрыхлённых фрагментов. Разработана усовершенствованная конструктивная схема ротационного режущего устройства с резиновыми амортизаторами, обеспечивающая крутильно-колебательные движения подвижных ножей и повышение эффективности резки. Лабораторные эксперименты показали высокий уровень восстановления волокон (89,5%) при минимальном количестве дефектов и средней длине волокон 25,4 мм. Полученные результаты подтверждают целесообразность внедрения предложенной конструкции в промышленное производство для улучшения качества восстановленного волокна и рационального использования вторичного сырья.
Список литературы:
- Эффективное использование регенерированных волокон и возможности их получения [Электронный ресурс]. – Режим доступа: http://waste.org.ua/modules.php?name=Pages&pa= showpage&pid=96.
- Электронный ресурс https://www.precedenceresearch.com/textile-waste-management-market.
- Ш.М.Шодиева, С.Л.Матисмаилов, М.Ш.Холияров. Исследование процесса восстановления волокон из швейных отходов. Textile jurnal of Uzbekistan (ISSN 2010-6262). №2/2025, с.79-84.
- Петканова Н.Н. и др. Переработка текстильных отходов и вторичного сырья. М.: Легпромбытиздат. 1991, с. 92-93.
- Фролова И.В. Теория и практика получения и использования регенерированных волокон / И.В. Фролова. - Иваново: Комитет государственной статистики, 1999. - 523 с.
- Азизов И.Р., Атаханов А.К., Одилхонова Н.О. Исследование конструкции и параметров работы питаюшего механизма щипальних машин // Universum: технические науки: elektron. nauchn. jurn. 2024. 6(123). URL: ttps://7universum.com/ru/tech/archive/item/17850.
- Юницкий А.Э. и др. Устройство для резки волокнистых материалов. Авторское свидетельство СССР № 1317041. - Москва, 1987, Бюл. №22
- Фролова И.В., Фролов В.Д., Башков А.П. Устройство для резания текстильных отходов. Патент RU 2278189, 20.06.2006, Бюл. №17.
- Проспект фирмы Fratelli Gamba Biella-Chiavazza (Италия).1989 г. С.6.
- Проспект фирмы Rolando-Biella (Италия). – 1989 г. С.6.
- Холияров М.Ш., Джураев A., Шамуратов M.T., Гафуров K., Гафуров Ж.К., Шодиева Ш.М. Устройство для резания текстильных отходов. Патент UZ IAP 8165, 21.08.2025, Бюл., № 8 (292).