профессор, д-р техн. наук, «Технология полиграфических и упаковочных процессов» Ташкентского института текстильной и легкой промышленности, Республика Узбекистан, г. Ташкент
АДГЕЗИОННЫЕ ХАРАКТЕРИСТИКИ ПОЛИМЕРНЫХ ПЛЕНОК, ОБРАБОТАННЫХ КОРОННЫМ РАЗРЯДОМ
АННОТАЦИЯ
В статье исследована адгезионная прочность пленок из полипропилена (ПП), полиэтилена (ПЭ) и полиэтилентерефталата (ПЭТФ) к спиртовым, воднодисперсионным и УФ-отверждаемым краскам. Для нанесения краски на полимерную пленку использовали пробопечатное устройство FlexiProof 100, оснащенный модулем УФ-отверждения. Для определения степени влияния обработки коронным разрядом на адгезионные свойства пленок применен метод отрыва на разрывной машине вертикального типа и скотч-тест. Для сравнительного анализа топографии исходных и обработанных образцов пленок применена атомно-силовая микроскопия. Выявлено, что коронная обработка полимерных пленок приводит к повышению их гидрофильности, что способствует улучшению адгезии флексографских красок к поверхности. Установлены рациональные режимы коронной обработки пленок из ПП, ПЭ и ПЭТФ, обеспечивающие оптимальные показатели адгезионной прочности и высокое качество печатного изображения.
ABSTRACT
This article examines the adhesion strength of polypropylene (PP), polyethylene (PE), and polyethylene terephthalate (PET) films to alcohol-based, water-dispersible, and UV-curable inks. A FlexiProof 100 proofing device equipped with a UV curing module was used to apply the ink to the polymer film. A vertical tensile testing machine and a tape test were used to determine the effect of corona discharge treatment on the film adhesion properties. Atomic force microscopy was used to compare the topography of the original and treated film samples. It was found that corona treatment of polymer films increases their hydrophilicity, which contributes to improved adhesion of flexographic inks to the surface. Efficient corona treatment regimes for PP, PE, and PET films were established, ensuring optimal adhesion strength and high-quality printed images.
Ключевые слова: полимерные пленки, обработка коронным разрядом, адгезионная прочность, спиртовая, воднодисперсная, Уф-отверждаемая краска
Keywords: polymer films, corona treatment, adhesive strength, alcohol-based, water-based, UV-curable paint
Введение
В настоящее время для печати упаковочной продукции широко используются полимерные пленки, имеющие поверхность, не позволяющие молекулам печатной краски вступать в соединения с молекулами полимера [1-2]. Одним из решением этой проблемы является использование коронной обработки, способствующей повышению уровня поверхностной энергии за счет разрушения длинных молекулярных цепочек и создания большого количества открытых молекулярных валентностей, что способствует повышению адгезионных свойств полимера, то есть улучшению соединения с молекулами краски [3].
Степень взаимодействия между молекулами (атомами) контактирующих тел характеризуется адгезионной прочностью, для определения которой используются различные методы отрыва или разрушения [4-5].
В работах [6-10] для исследования адгезии между полимером и краской используются метод сдвига (peel-off), метод на расслаивание (cross-hatch) и метод отрыва (pull-off). Принципы работы этих методов представлены на рис. 1.
Анализ схем демонстрирует, что первые два метода (рис.1,а и рис.1,б) имеют ограниченное применение и используются лишь для оценки адгезии в рамках исследовательских работ на модельных соединениях. В отличие от них, метод нормального отрыва (рис.1,в) обладает большей универсальностью, позволяя определять адгезионную прочность как на модельных, так и на реальных образцах, таких как упаковочные материалы.
/Babakxanova.files/image001.png)
Рисунок 1. Схемы методов оценки адгезии печатных красок к полимерным пленкам: а - метод сдвига, б – метод на расслаивание, в – метод отрыва:
1 – полимерная пленка, 2 – печатная краска, 3 – клей, 4 – металлический "грибок"
Метод отрыва применим к широкому спектру покрытий, включая печатные краски, лаки, праймеры и краски с различными способом закрепления. Однако, его использование ограничено требованиями к толщине и жесткости материала, на который наносится покрытие, а также необходимостью обеспечения равномерного и сплошного слоя покрытия [11].
Экспериментальная часть
В качестве объектов исследования были использованы промышленные пленки из полиэтилена (ПЭ), полиэтилентерефталата (ПЭНД) и полипропилена (ПП). Эти пленки были изготовлены методом экструзии с последующим раздувом через кольцевую головку. Для печати использовали различного рода печатной краски (табл.1).
Таблица 1.
Наименование и марка использованной печатной краски
|
№ |
Тип красящего вещества |
Марка, производитель |
|
1 |
Воднодисперсионная флексографская краска |
Flint Group (производства Akzo Nobel) |
|
2 |
Спиртовые флексографские краски |
6I73500004PMS293C, 2P216A01A8, 43" 6I73400006PMS186C, 2P216A01A9, 30' |
|
3 |
УФ-отверждаемая флексографская краска |
Pantone Reflex blue из серии Flexocux Fozce от Flint Group (арт. UFO 50021-408) |
После нанесения краски на полимерную пленку использовали пробопечатное устройство FlexiProof 100, оснащенный модулем УФ-отверждения (рис.2).
/Babakxanova.files/image002.jpg)
Рисунок 2. Внешний вид пробопечатного флексографского устройства Flexi Proof 100
Для проведения количественных измерений адгезионной прочности между слоем печатной краски и металлическим грибком в качестве адгезивного материала был использован клей "Супер-Момент" и универсальная разрывная машина РМ-50, оснащенная тензодатчиком, измеряющим нагрузку до 500 Н (табл.2) [12].
Таблица 2.
Технические характеристики разрывной машины РМ-50
|
Наименование и марка прибора |
разрывная машина РМ-50 |
|
Принцип действия |
вертикального типа |
|
Диапазон измерений нагрузок, Н |
0–500 |
|
Точность измерения нагрузки, Н |
0,1 |
|
Интервал рабочих скоростей, мм/мин |
50–500 |
|
Точность выставления скорости, мм/мин |
1,0 |
|
Максимальный ход нижнего зажима, мм |
630 |
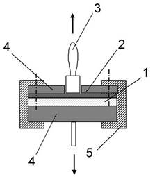
Для исследования адгезионной прочности исследуемый образец помещали в специальную ячейку разрывной машины, затем к красочному слою (2), нанесенному на полимерную пленку (1), приклеивали металлический «грибок» (3) и подвергали растяжению до момента отрыва (рис. 3). Скорость разрыва для всех образцов составляла 100 мм/мин.
/Babakxanova.files/image003.jpg)
Рисунок 3. Ячейка для оценки адгезионной прочности методом отрыва
1 – полимерная пленка, 2 – печатная краска, 3 – металлический «грибок», 4 – металлические пластинки, 5 – струбцины [6]
Обсуждение результатов
Для исследования гидрофильности поверхности полимерных пленок использовался метод измерения краевого угла смачивания водой. Анализ проводился как до, так и после обработки пленок коронным разрядом. Полученные данные о краевом угле смачивания представлены в табл.3.
Таблица 3.
Средние значения краевого угла смачивания полимерной пленки
|
Наименование пленки |
Значение краевого угла смачивания, град. |
||
|
До обработки |
Режим обр. №1 |
Режим обр. №2 |
|
|
ПП |
74 |
60 |
54 |
|
ПЭ |
72 |
55 |
45 |
|
ПЭТФ |
78 |
50 |
42 |
Обработка коронным разрядом осуществляли по двум вариантам: при №1 D = 4 Вт·мин/м², №2 D = 10 Вт·мин/м².
Адгезионная прочность полимерных пленок, обработанных коронным разрядом при D = 10 Вт·мин/м², и необработанных, была измерена с помощью метода отрыва и скотч-теста [13-15] (табл.4).
Таблица 4.
Адгезионная прочность полимерной пленки к краске
|
№ |
Адгезионная прочность, H/см2 |
||||||||
|
к спиртовой краске |
к воднодисперсной |
к УФ-отверждаемой |
|||||||
|
|
ПЭТФ |
ПП |
ПЭ |
ПЭТФ |
ПП |
ПЭ |
ПЭТФ |
ПП |
ПЭ |
|
1 |
26,4 |
18,4 |
22,4 |
24,1 |
15,9 |
24,3 |
26 |
18,2 |
24,0 |
|
2 |
27,1 |
17,9 |
21,9 |
23,8 |
16,2 |
24,5 |
25,9 |
18,4 |
23,6 |
|
3 |
26,8 |
18,0 |
22,1 |
24,4 |
16,1 |
24,1 |
26,3 |
17,8 |
23,8 |
|
4 |
27,2 |
18,2 |
22,2 |
24,2 |
16,2 |
24,8 |
26,1 |
17,9 |
23,8 |
|
5 |
27,4 |
17,7 |
21,7 |
24,5 |
15,7 |
24,5 |
26,2 |
18,1 |
24,1 |
|
Ср. |
26,98 |
18,04 |
22,06 |
24,21 |
16,02 |
24,44 |
26,1 |
18,08 |
23,86 |
Результаты, представленные в табл. 4, демонстрируют, что обработка коронным разрядом во всех случаях приводит к значительному повышению адгезионной прочности. Установлено, что данный показатель зависит как от типа лакокрасочного материала, так и от природы полимерной подложки. В частности, для полиэтилентерефталатной (ПЭТФ) пленки наибольшая прочность сцепления достигнута при использовании спиртовой краски (26,98 Н/см2), а также при нанесении УФ-отверждаемой краски (26,1 Н/см2). Для полиэтиленовой (ПЭ) пленки наилучшие показатели адгезии отмечены при применении воднодисперсионной краски.
С целью комплексного анализа влияния коронной обработки на адгезионные свойства полимерных пленок в табл. 5 представлены данные о прочности сцепления лакокрасочного покрытия с поверхностью необработанных пленок из ПЭТФ, ПЭ и ПП.
Таблица 5.
Адгезионная прочность необработанных пленок к УФ-отверждаемой краски
|
№ |
Адгезионная прочность, H/см2 |
||
|
ПЭТФ |
ПП |
ПЭ |
|
|
1. |
2,0 |
1,1 |
1,2 |
|
2. |
2.2 |
1,2 |
1,4 |
|
3. |
1,9 |
1,1 |
1,4 |
|
4. |
2,1 |
1,0 |
1,3 |
|
5. |
1,8 |
1,0 |
1,2 |
|
6. |
1,9 |
1,1 |
1,1 |
|
7. |
2,2 |
1,0 |
1,3 |
|
8. |
2,0 |
1,1 |
1,2 |
|
9. |
1,9 |
1,2 |
1,4 |
|
10. |
2,0 |
1,0 |
1,2 |
|
Среднее значение |
2,0 |
1,08 |
1,16 |
По результатам проведённых исследований установлено, что обработка коронным разрядом приводит к изменению поверхностных свойств полимерных пленок, выражающемуся в повышении их гидрофильности и улучшении адгезионной прочности. На основании полученных экспериментальных данных в качестве оптимального режима обработки рекомендуется использовать интенсивность воздействия, равную D = 10 Вт·мин/м².
Важным аспектом исследования является изучение изменений микроструктуры поверхности полимерных пленок, обусловленных коронной обработкой. С этой целью была применена атомно-силовая микроскопия, позволившая провести сравнительный анализ топографии исходных и обработанных образцов [16-17]. Основные результаты данного анализа представлены на рис. 4А и 4Б.
|
А |
Б |
Рисунок 4. Влияние коронного разряда на микроструктуру поверхности ПП-пленки: анализ состояния до (А) и после (Б) обработки
Аналогичные исследования были проведены для пленок ПЭТФ и ПЭ с применением коронной обработки. Полученные с помощью атомно-силовой микроскопии микроизображения подтверждают, что данный метод способствует формированию более выраженного микрорельефа поверхности, что, в свою очередь, может способствовать улучшению адгезионных характеристик [17-18].
Выводы. Проведённые исследования показали, что коронная обработка полимерных пленок (ПЭТФ, ПЭ, ПП) приводит к повышению их гидрофильности, что способствует улучшению адгезии флексографских красок к поверхности. Установлены рациональные режимы коронной обработки пленок из ПП, ПЭ и ПЭТФ, обеспечивающие оптимальные показатели адгезионной прочности и высокое качество печатного изображения.
Список литературы:
- Аксенова Т.И., Любешкина Е.Г. Полимерные материалы в упаковке // Упаковка вчера, сегодня, завтра. 2000. № 2. С. 26.
- D. Fink, Transport Processes in Ion Irradiated Polymers and Applications, Springer Series in Materials Science, Vol. 65, Springer-Vcrlag, 2004.
- Вернер Экерт, Андрей Семичев, Андрей Зориков Коронный прием для полимера // Publish. 2025. https://www.publish.ru/articles/200901_7179484
- Pocius A.V., Dillard D.A. The Mexanics of adgesion // Amsterdam: Elsevier. 2002. P.303-350.
- Пасечкин М.В. Исследование адгезионного взаимодействия полимерных композиций с поверхностью текстильного материала // Восточно-Европейский журнал передовых технологий. 2014. 4/6 (70). С.18-23.
- Minford J.D. Treatise on Adhesion and Adhesives //N.Y.: Marcel Dekker. 1981. v.5.
- Ли Л.Х. Адгезивы и адгезионные соединения. М.: Мир 1988, 224 с.
- Зубов П.И., Сухарева Л.А. Структура и свойства полимерных покрытий. М.: Химия, 1982, 255 с.
- Фаренбрух К.В. Разработка методов контроля адгезионной прочности при печати на гидрофобных полимерных пленках: автореф…..канд.техн.наук. Москва. 2008. 24 с.
- Баблюк Е.Б., Фаренбрух К.В., Баканов В.А. Оценка адгезионной прочности при печати на полимерных пленках // Известия вузов. Проблемы полиграфии и издательского дела. № 5. 2007. С. 31-39.
- Баблюк Е.Б. Оценка адгезионной прочности при печати на полимерных пленках / Е.Б. Баблюк, К.В. Фаренбрух, В.А. Баканов // Известия вузов. Проблемы полиграфии и издательского дела. 2007. № 5. С. 31–39.
- Баблюк Е.Б., Баканов В.А. О механизме активации коронным разрядом упаковочных полимерных пленок // Полиграфия. 2008. № 1. С. 96–98.
- Баканов В.А. Свойства полимерных пленок, активированных коронным разрядом, и особенности их применения в производстве упаковки: автореф…. канд.техн.наук. Москва. МГУП. 2008. 21 с.
- Равшанов Д.Ч., Гребень Т.А. Адгезия тонких слоев, наносимых на полимерные пленки // Флексоплюс. Наносим металл на упаковочные материалы. Москва. 2012. №5 (89). С. 60-61.
- Равшанов Д.Ч., Гребень Т.А. Адгезия тонких слоев, наносимых на полимерные пленки. // Print Nano-tech. 2012. Доклад международной молодежной конференции «Тенденции развития пленарных нанотехнологий на основе современного полиграфического оборудования». Москва. МГУП. 2012. С. 100-106.
- Равшанов Д.Ч., Ходжаназаров Х.М. Оценка адгезионных свойств полимерных плёнок // Политехнический Вестник. Серия: инженерные исследования. Душанбе. 2017. №4 (40) С. 31-44. ISSN 2520-2227.
- Равшанов Д.Ч., Баблюк Е.Б. Влияние коронного разряда на качество печати полимерных пленок // Вестник Таджикского национального университета. Серия естественных наук. 2017. № 1-1. С.149-154. ISSN 2413-452Х.
- Равшанов Д.Ч., Каримов А.А., Баблюк Е.Б. Адгезионная способность полимерных пленок, обработанных коронным разрядом // Научно-техническая международная конференция студентов, магистрантов и аспирантов. 23-25 марта 2021. Технический университет Молдовы. Кишинев. Молдова. С.431-439.
/Babakxanova.files/image004.jpg)
/Babakxanova.files/image005.jpg)