PhD doctoral student, Fergana State Technical University Uzbekistan, Fergana
STUDY OF AERODYNAMIC MODES OF A CASCADE DRYER
ABSTRACT
This article discusses theoretical methods for calculating the aerodynamics of cascade drying systems. The dependence of drying efficiency on airflow velocity, temperature, and pressure is theoretically analyzed. Furthermore, the influence of the geometric parameters of the drying chamber, channel design, and air distribution system on the drying process is substantiated using theoretical calculations. This theoretical analysis provides an important scientific basis for improving cascade dryers and their efficient operation. The results obtained in the article can be applied in industrial drying processes.
АННОТАЦИЯ
В статье освещены теоретические методы расчёта аэродинамики каскадных сушильных установок. Теоретически проанализирована зависимость эффективности процесса сушки от скорости, температуры и давления воздушного потока. Кроме того, на основе теоретических расчётов обосновано влияние геометрических параметров сушильной камеры, конструкции каналов и системы распределения воздуха на процесс сушки. Теоретический анализ является важной научной основой для совершенствования каскадных сушилок и их эффективного использования. Полученные в статье результаты могут быть применены на практике в промышленных процессах сушки.
Keywords: cascade dryer, aerodynamics, theoretical calculation, airflow, pressure, velocity, temperature, turbulence, energy efficiency, drying process, channel geometry, drying chamber.
Ключевые слова: каскадная сушилка, аэродинамика, теоретический расчёт, воздушный поток, давление, скорость, температура, турбулентность, энергоэффективность, процесс сушки, геометрия каналов, сушильная камера.
Introduction.
According to data, nearly 17% of grown grain currently becomes spoiled during post-harvest storage. Therefore, one of the most important processes in the agricultural production line is the collection of grain products and their primary thermal treatment followed by drying in accordance with standard requirements, which reduces overall losses by up to 12%. Furthermore, this process makes it possible to partially preserve grain products without loss. Therefore, its use is necessary and relevant for ensuring the quality of finished products. In other industries, the cost of thermal drying during processing amounts to approximately 15% of the total cost [1; 2; 3, etc.]. In such conditions, the creation of highly efficient, energy-saving drying modes, regulation and optimization of heat exchange processes in drying equipment becomes an urgent task.
Materials and methods.
It is known that the drying process depends on the moisture content of the material, its size, the method of movement within the device's working chamber, the hydrodynamics of the material's movement along with the drying agent, as well as the internal and external environmental parameters. The combination of these factors determines the drying process conditions. Therefore, depending on the physical, chemical, and mechanical properties of the material being dried, different methods and devices are used.
The most common of the above-mentioned methods and devices is convective drying, where the drying units used occupy a special place due to their simple design, high productivity, and versatility. Therefore, there is currently a trend toward expanding the use of such drying units in various sectors of the national economy. However, this type of dryer also has its own specific drawbacks.
For example, such complex processes as ensuring drying intensity, rational use of the heat transfer agent, optimization of hydrodynamic parameters, and minimization of energy consumption can be noted. Furthermore, optimization of heat exchange processes between the heat transfer agent and the material depends on the physicochemical properties of the material being dried. This process is quite complex, and maintaining certain parameters at a standard state presents a certain challenge. Therefore, the tasks of determining and substantiating optimal parameters for this type of unit are relevant.
Object of study: Based on the conducted multifactorial analyses, a design scheme for a device for preheating grain before drying was developed, and the aerodynamics of its working zones was theoretically studied.
/Abdulazizov.files/image001.jpg)
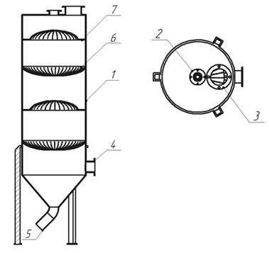
Figure 1. Diagram of a cascade vertical heating device
1 – cylindrical body; 2 – loading pipe; 3 – coolant outlet pipe; 4 – coolant inlet pipe; 5 – material discharge pipe; 6 and 7 – cascade nozzles.
The design of the device is as follows. The apparatus consists of a cylindrical body 1, which contains a pipe 2 for feeding the granular product (grain) to be dried, and a pipe 5 for discharging the dried product. Cascades are installed inside the body from top to bottom: a smaller, elliptical cascade 7 and a lower, larger elliptical cascade 6 with a hole in the center. The cascades serve to distribute the product falling from above and then collect it in the center. To dry the product, a coolant is fed into the device through pipe 4 and discharged through pipe 3, located at the top of the apparatus.
The device operates as follows. The granular product to be dried is fed into the apparatus through pipe 2 and directed to cascade 7. Elliptical cascade 7 evenly distributes the product, while openings in the cascade simultaneously reduce hydraulic resistance and promote the formation of a fluidized bed. The product distributed in cascade 7 enters the downstream cascade 6. Elliptical cascade 6, with an opening in the center, collects the product spilled from cascade 7 in the center.
Heat transfer fluid is fed into the apparatus through pipe 4. It is evenly distributed over the surface of the elliptical cascades (the Coanda effect is significantly weaker in this case), interacting with the product falling from above and forming a fluidized bed. A similar process occurs in each pair of cascades. The heat transfer fluid is then discharged from the apparatus through pipe 3. The product, having undergone the drying stage, exits the device through pipe 5, located at the bottom.
Results of theoretical research.
As is well known, in accordance with existing laws, aerodynamic drag arises in any device under the influence of primarily local and frictional forces. This drag also depends on the device's design—as the design becomes more complex, the drag increases. In the device under consideration, the coolant, moving within the dryer and through the channels, primarily experiences hydraulic drag. This drag arises on the working surfaces of the dryer's cascade trays ∆Pkas, due to friction Pishk, in local zones Pmax, in the coolant inlet and outlet pipes Ppod, and in the heater Pk. In this case, the total hydraulic drag of the device ∆P can be written as follows: Pa:
DP= Pkas +Pishk+ Pma + 2Ppod + Pk (1)
In the first stage of the calculation, the pressure ∆Pkas lost on the working surfaces of the cascade trays and in the perforated holes is determined, depending on the amount of grain loaded from the top of the device, the number of cascade trays, and the flow rate of the coolant through the gap volume of each tray, supplied through the lower nozzle of the device. In general, this pressure can be written as follows: Pa;
(2)
Here ∆Pd.q is the pressure lost on the working surfaces of the cascade plate, which can be determined using the equation proposed by Ergun, Pa;
(3)
Here: L is the average thickness of the grain layer on the surface of the cascade plate, m; ρҳ — air density, кг/м³ μ — dynamic viscosity of air, Pas∙s; dp — average diameter of dried wheat grain, m; ε — the proportion of empty space (voidness) above the plate, %; L — height filled with grain on each plate, m. If the plate does not contain grain, the thickness of the plate itself is taken into account in the calculations, m.; υkas— the speed of the coolant when passing through the gap of the cascade plate is determined by the following equation, m/s;
(4)
Here: Q — is the volumetric flow rate of the coolant (air) m³/s; A = πD²/4 — the internal cross-sectional area of the device, which is determined by the following equation, m ²;
(5)
Here D is the inner diameter of the cylindrical body, m.
By substituting equation (4) into equation (3), we can write an expression for determining the coolant velocity as it passes through the gap of the cascade plate as follows, m/s;
(6)
Substituting equation (5) into equation (2) instead of υ_kas, the equation for determining the pressure P_kas lost on the working surfaces of the cascade plate takes the following form, Pa;
(7)
This equation is used to determine the resistance and pressure loss on the working surfaces of a cascade tray. However, when air passes through the perforated holes of a cascade tray, aerodynamic losses depend on the tray thickness and the hole diameter. Generally, existing research suggests that these losses are insignificant. However, in our situation, this parameter increases depending on the grain layer thickness, hole diameter, the number of cascade trays, and the perpendicular action of gravity. Therefore, it is necessary to take aerodynamic losses into account in this case. Then, the aerodynamic drag arising when air passes through the perforated holes of a cascade tray can be written as follows: Pa;
(8)
ζs — the resistance coefficient of the perforated holes of the plate, which is usually determined experimentally based on the results of Idelchik tests or depending on the diameter and thickness of the perforated holes;
υp.t — the air velocity when passing through a perforated hole, which depends on the proportion of the open area of the perforation and the velocity of the coolant when passing through the gap of the cascade plate and is determined by the following equation, m/s;
(9)
Here α is the fraction of the open (perforated) area of the plate.
(9) Substituting this equation into equation (8), the equation for determining the aerodynamic drag arising when air passes through the perforated holes of the cascade plate takes the following form, Pa;
(10)
Substituting equations (7) and (10) into equation (2), the general equation for determining the pressure ∆Pkas lost both on the working surfaces of the plate and in the perforated holes can be written as follows, Pa;
(11)
This equation makes sense when the air flow regime (Re) is laminar or transitional.
/Abdulazizov.files/image012.png)
For turbulent airflow conditions (Re), using this equation is not recommended. In our case, the airflow overcomes gravity and tray drag under maximum transient conditions. Therefore, in the analyzed process, it was recommended to use this equation to determine the aerodynamic drag lost due to the grain bed thickness, tray drag, and gravity.
Furthermore, given that Ergun's equation gives a solution for one plate separately, we can write the equation for determining the total number of plates as follows:, Pa;
(12)
Here N — is the number of plates, which depends on their overall dimensions and volume, pcs.
Pишқ - the pressure lost in the device due to the friction force of the coolant flow is determined by the following equation, Pa [6];
(13)
Here: l — is the length of the dryer, m; λ is the frictional resistance coefficient, which depends on the flow regime and is determined by the Blasius equation. [6;7];
(14)
In this equation, the Reynolds number is defined as follows;
(15)
In this case, substituting equation (15) into equation (14), we obtain the following expression;
(16)
Here: w is the drying agent velocity, m/s. It is usually taken in the range from 5 to 20 m/s; d is the diameter of the heater tube, determined from the second flow rate equation., м;
(17)
Here: Vc — drying agent flow rate per second, m³/s;
r — density of drying agent.
In this case, by performing the mathematical operations in equation (13), we obtain the following expression;
, (18)
Pмах- The local pressure loss in the dryer is determined by the following equation, Pa;
(19)
Pк- The pressure loss in the heater is determined taking into account the brand of heater selected for the dryer, and the hydraulic resistance values are taken from the heater calculation table, Pa.
, (20)
Using the obtained theoretical results, equation (1) can be written as follows, Pa;
(21)
This equation can be used to theoretically calculate the aerodynamic resistance of air flow in a cascade vertical dryer.
Conclusion. Theoretical calculations of the aerodynamics of cascade dryers are essential for improving the efficiency of the drying process. Calculations show that airflow velocity, pressure, and temperature are the key drying parameters. Determining the aerodynamic characteristics allows for predicting the dryer's operating mode and energy efficiency. Theoretical modeling showed that the Navier-Stokes, Nikuradze, Darcy, Weisbach, and Ergun equations, as well as accounting for turbulent air flow, yield effective results. This approach reduces drying time, ensures uniform product drying, and avoids excessive heat consumption. The results demonstrate that the cascade dryer geometry and airflow distribution system significantly influence aerodynamics. Optimizing the dryer chamber design and channel dimensions enables high drying efficiency. Furthermore, the theoretical calculation method helps reduce pilot testing, save costs, and improve the reliability of drying equipment. This study can serve as a theoretical basis for further improvement of drying technology and creation of a new generation of drying plants.
Список литературы:
- Касаткин А.Г. Основные процессы и аппарты химической технологии. – Москва: Химия, 1973. – 752 с.
- Салимов.З. Кимёвий технологиянинг асосий жараёнлари ва қурилмалари. Том–2.– Тошкент: Ўзбекистон, 1995. – 238 б.
- Плановский А.Н., Николаев П.И. Процессы и аппараты химической и нефтехимической технологии. – Москва: Химия, 1987. – 496 с.
- Юсупбеков Н.Р., Нурмуҳамедов Ҳ.С., Зокиров С.Г. Кимёвий технология асосий жараён ва қурилмалари. – Тошкент: Фан ва технология-лар, 2015. – 848 б.
- Латипов К.Ш. Гидравлика, гидромашиналар ва гидроюритмалар. – Тошкент: Ўқитувчи, 1992. –405 б.
- Салимов. З. Кимёвий технологиянинг асосий жараёнлари ва қурилмалари. Том–1.– Тошкент: Ўзбекистон, 1994. – 366 б.
- Tojiyev R. J., Akhunbaev A. A., Mirsharipov R. X. Research of hydrodynamic processes when drying mineral fertilizers in drum dryers //Scientific-technical journal. – 2021. – Т. 4. – №. 4. – С. 10-16.
- Mirsharipov R. H., Akhunbaev A. A. Research of Hydrodynamic Parameters of Drum Dryer //International Journal of Advanced Research in Science, Engineering and Technology. – 2020. – Т. 7. – №. 11. – С. 15683.
- Тожиев Р. Д. и др. Исследование гидродинамических процессов при сушке минеральных удобрений в барабанных сушилках //Научнотехнический журнал. – 2021. – Т. 4. – №. 4. – С. 15.
- Isomidinov, A. S., Abdulazizov, A. A., & Mo’ydinov, A. A. (2023). Experimental Determination Of Drying Kinetics Of Quartz Sand In A Drum Dryer. American Journal of Technology and Applied Sciences, 19, 79-84.