д-р техн. наук, профессор, Ташкентский институт текстильной и легкой промышленности, Республика Узбекистан, г. Ташкент
АНАЛИЗ ЭКСПЕРИМЕНТАЛЬНЫХ РЕЗУЛЬТАТОВ В ПРОИЗВОДСТВЕННЫХ УСЛОВИЯХ ОЧИСТИТЕЛЬНЫХ УСТАНОВОК
АННОТАЦИЯ
В статье приведены результаты испытаний рекомендуемого усовершенствованного потока очистки УXK в производственных условиях на хлопкоочистительных заводах. В модернизированном варианте хлопкоочистительного агрегата УXK сор, попадающий из 4-х колковых барабанов, находящихся в секции пильчатого барабана, отделяется и удаляется из очистителя с помощью отдельных желобов. Раздельное удаление фракций сорных примесей (крупного и мелкого сора) позволяет значительно улучшить процесс и качество очистки регенерированного хлопка. Это подтверждают производственные испытания предлагаемой технологии очитки хлопка. Производимые конструктивные изменения очистительного агрегата не требуют значительных материальных затрат.
ABSTRACT
The article presents the results of testing the recommended improved cleaning flow UKHK in production conditions at cotton ginning plants. In the modernized version of the cotton ginning unit UKHK, the debris coming from the 4 peg drums located in the saw drum section is separated and removed from the cleaner using separate troughs. Separate removal of fractions of debris (large and small debris) allows to significantly improve the process and quality of cleaning regenerated cotton. This is confirmed by production tests of the proposed cotton cleaning technology. The design changes made to the cleaning unit do not require significant material costs.
Ключевые слова: хлопок, очистка, мелкие сорные примеси, крупные сорные примеси, хлопкоочистительный агрегат, регенерация отходов, очистители.
Keywords: cotton, cleaning, small debris, large debris, cotton ginning unit, waste regeneration, cleaners.
Введение. В результате масштабной организации хлопково-текстильных кластеров, в республике Узбекистан реализуются комплексные мероприятия по техническому перевооружению и модернизации текстильных предприятий по производству высококачественной пряжи и текстильной продукции, а также достигаются определенные результаты. В новой стратегии развития Узбекистана на 2022–2026 годы, указаны такие важные задачи, как продолжение промышленной политики, направленной на обеспечение стабильности национальной экономики и увеличение доли промышленности в валовом внутреннем продукте, а также увеличение промышленной продукции в 1,4 раза. При выполнении вышеназванных задач, одним из важных вопросов является полное обеспечение существующих текстильных предприятий волокнистым сырьем, снижение потерь волокна на каждом этапе технологии первичной переработки хлопка, включая процессы очистки хлопка. При регенерации хлопка-сырца из отходов, выделенный при очистке от крупного сора хлопок-сырец получается большей засоренности, чем установлено требованиями стандарта [2; 9].
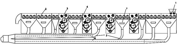
Методология исследований. Исходя из проведенных исследований был изменен поток очистки УXK. На рисунке 1 представлен модернизированный вариант УXK. В нем сор, попадающий из 4-х колковых барабанов, находящихся в секции пильчатого барабана, отделяется и удаляется из очистителя с помощью отдельных желобов. Сорные примеси, отделенные от колковых барабанов, можно удалить из очистителя, когда мелкие соры, выпадающие из каждой секции, извлекаются из него с помощью воздуха, при использовании существующей аспирационной системы.
/Rosulov.files/image001.jpg)
Рисунок 1. Предлагаемая технология очистки хлопка
1-питающий валик; 2-1ХК (колковый очиститель); 3-пильчатая секция УXK; 4- бункер для сора; 5- труба для сора; 6- магистральная труба для подачи сора; 7- окно контроля. 8- ленточный транспортёр; 9- пневматическая труба;
Отделение сорных примесей от. хлопка происходило в первом пильчатом барабане, и потери составляли в существующем варианте 57,81 и 70,68 % от общего количества, а в рекомендуемом варианте – 58,0 % и 75,1 % соответственно (см. табл. 1). Пороки и сорные примеси в волокне, полученные из основного хлопка, составляют 3,98 % и 3,1 % в существующем и предлагаемом вариантах соответственно, а при очистке регенерированного хлопка в отдельном потоке очистки УXK – 8,0 % и 5,25 % соответственно, т.е. основное выработанное волокно соответствует (т.е. одинаково) I сорту класса “Оддий” и “Оддий” соответственно, а волокно, полученное из регенерированного и очищенного хлопка, из-за высокой засоренности и пороков представляет собой нестандартное волокно (см. табл. 2). Эти результаты показали, что рекомендуемый вариант имеет более высокий показатель качества волокна [1; 3; 4]. При исследовании основных показателей качества волокна на оборудовании HVI в обоих вариантах не было различий по таким показателям как прочность, длина волокон, удельная сила разрыва, удлинение при разрыве.
Результаты исследований. Основное различие было выявлено в показателях качества, связанных с примесями (табл. 3), в частности, в полученном из основного обрабатываемого хлопкового волокна в существующем и рекомендуемом вариантах, точки примесей составили соответственно 29 и 23, площадь примесей 0,28 и 0,18 %, индекс прядения 134,7 и 140,3. В волокнах, полученных при повторной очистке регенерированного хлопка в потоке УXK в существующем и рекомендуемом вариантах точки примесей составили соответственно 86 и 72, площадь примесей 1,12 и 0,98 %, индекс прядения 124,6 и 126,4 [8]. Доля хлопка в отходах в рекомендованном варианте составляет 65,76 % и увеличилась на 8,66 % по сравнению с существующим вариантом, то есть количество сора в нем снизилось с 42,9 % до 34,24 %. Пороки и сорные примеси в полученном волокне представлены в таблице 9, из которой видно, что пороки и сорные примеси в полученном волокне в существующем варианте составляют 6,64 % и соответствуют классу “Ўрта”, тогда как в рекомендуемом варианте они составляет 5,4 %, что соответствует классу “Яхши”.
Таблица 1.
Структурный состав отходов, отделенных при очистке на пильчатых барабанах Букинского хлопкоочистительного предприятия (С65-24 ½ , ручной сбор, производительность 3741 кг/час)
|
Секция очистки |
Доли структурных составов примесей |
|||||||||||
|
Существующий вариант |
Предлагаемый вариант |
|||||||||||
|
Выделенный отход, % |
Общий сор |
Отделенный хлопок |
Доля регенерированного хлопка относительно общего очищенного хлопка, % |
Выделенный отход, % |
Общий сор |
Отделенный хлопок |
Доля регенерированного хлопка относительно общего очищенного хлопка, % |
|||||
|
кг/час |
кг/час |
% |
кг/час |
% |
кг/час |
кг/час |
% |
кг/час |
% |
|||
|
1 ПБ |
133,2 |
96,9 |
72,8 |
36,2 |
27,2 |
0,97 |
117,3 |
77,6 |
76,2 |
39,6 |
33,8 |
1,07 |
|
2 ПБ |
44,6 |
38,6 |
86,5 |
6,0 |
13,4 |
0,16 |
38,1 |
33,8 |
86,9 |
4,2 |
13,07 |
0,13 |
|
3 ПБ |
30,6 |
24,7 |
83,9 |
5,8 |
19,0 |
0,16 |
27,8 |
23,1 |
83,1 |
4,6 |
16,83 |
0,125 |
|
4 ПБ |
22,0 |
18,7 |
86,7 |
3,2 |
14,6 |
0,09 |
19,04 |
15,5 |
81,6 |
3,5 |
18,37 |
0,094 |
|
Всего |
230,4 |
179,1 |
77,7 |
51,3 |
22,2 |
1,38 |
202,2 |
149,4 |
83,8 |
52,8 |
26,11 |
1,42 |
Таблица 2.
Показатели полученного волокна
|
Пороки и сорные примеси в волокне, полученном из основного хлопка, % |
Пороки и сорные примеси в волокне, полученном после отдельной переработки регенерированного хлопка, % |
Содержание пороков и засоренности волокна, полученные при смешивании основного и регенерированного хлопка |
|||||
|
Существующий вариант |
Рекомендуемый вариант |
Разность |
Существующий вариант |
Рекомендуемый вариант |
Разность |
Существующий вариант |
Рекомендуемый вариант |
|
3,98 |
3,1 |
0,88 |
8,0 |
5,25 |
2,75 |
4,18 I-сорт класс “Ифлос” |
3,73 I-сорт класс “Оддий” |
Данные таблицы указывают, что показатели качества волокна, полученного из регенерированного хлопка, значительно ниже, чем у первично полученного волокна [5; 6].
Таблица 3.
Показатели качества волокна, полученного из первично обработанного хлопка Букинского хлопкоочистительного предприятия (С 65-24 I/2, засоренность 6,9 %, влажность 7,9 %)
|
№ |
Показатели |
Точки получения образцов |
||||||||
|
Основное волокно в конденсоре |
После регенератора |
После очистки регенерированного хлопка в конденсоре |
||||||||
|
в существующем варианте |
в предлагаемом варианте |
разность |
в существующем варианте |
в предлагаемом варианте |
разность |
в существующем варианте |
в предлагаемом варианте |
разность |
||
|
1 |
Cnt – кол-во примесных точек |
29 |
23 |
-7 |
203 |
161 |
-42 |
86 |
72 |
-14 |
|
2 |
Area-примеси |
0,28 |
0,19 |
-0.09 |
2,37 |
2,32 |
-0,05 |
1,12 |
0,98 |
-0,14 |
|
3 |
SFI- индекс коротких волокон |
8,6 |
8,2 |
-0,6 |
8,5 |
8,5 |
0 |
8,6 |
7,6 |
-1 |
|
4 |
SCI- индекс прядения |
134,7 |
140,3 |
5,6 |
110,8 |
120,1 |
9,3 |
124,6 |
126,4 |
1,8 |
В таблицах 4–5 приведены результаты предварительной обработки собранного машинным способом хлопка Ан-Баяут IV/3 с влажностью 12,5 % и засоренностью 17,5 %, на хлопкоочистительном предприятии Дустлик.
Пороки и сорные примеси в волокне, полученного после повторной очистки регенерированного хлопка в потоке УXK, относятся к IV сорту классам “Ифлос” и “Оддий” соответственно.
Таблица 4.
Состав отходов выделенного при очистке хлопка Ан-Баяут IV/3, машинного сбора (масса пробы 300 гр)
|
№ |
Структурный состав отходов |
Действующий состав отходов |
||||
|
Имеющийся вариант |
Рекомендуемый вариант |
|
||||
|
Вес, г |
Доля, % |
Вес, г |
Доля, % |
Разность |
||
|
1 |
Хлопок |
171,30 |
57,1 |
197,31 |
65,76 |
+8,66 |
|
2 |
Крупный сор |
88,2 |
29,40 |
76,30 |
25,43 |
-3,97 |
|
3 |
Мелкий сор |
40,5 |
13,50 |
26,43 |
8,81 |
-4,69 |
|
4 |
Всего |
300 |
100 |
300 |
100 |
|
Таблица 5.
Показатели волокна, полученного из регенерированного хлопка
|
Пороки и сорные примеси в волокне, полученном из основного хлопка, % |
Пороки и сорные примеси в волокне, полученном из регенерированного хлопка, % |
Содержание пороков и засоренности волокна, полученного при смешивании основного и регенерированного |
|||
|
Существующий |
Рекомен-дованный |
Существующий |
Рекомен-дованный |
Существующий |
Рекомендо-ванный |
|
6,64 |
5,4 IV-сорт “Яхши” |
10,8 |
9,1 |
7,09 IV-сорт “Ўрта” |
5,78 IV-сорт “Яхши” |
Проанализировано качество волокна, полученного при переработке регенерированного хлопка, путем добавления его в поток основного хлопка. В этом случае изменение пороков и сорных примесей в получаемом основном волокне определяли по следующей формуле:
(1)
где
и
– пороки и сорные примеси волокна основного и регенерированного хлопка [9]. Расчеты показали, что количество пороков и сорных примесей в волокне, полученном при переработке путем добавления регенерированного хлопка в поток основного хлопка на Букинском хлопкоочистительном заводе, увеличилось с 3,98 % до 4,18 % в существующем варианте и с 3,1 % до 3,23 % в рекомендуемом варианте. Таким образом, в существующем варианте волокно I сорта переходит из “Оддий” в “Ифлос” класс, тогда как в рекомендованном варианте класс остается неизменным, то есть “Оддий”. Однако это не означает, что добавление регенерированного хлопка к общему количеству очищаемого хлопка в этом рекомендуемом варианте не меняет класс производимого волокна. На Дустликском хлопкоочистительном предприятии содержание пороков и засоренности, полученном из основного хлопка в существующем и предлагаемом вариантах, составило 6,64 % и 5,4 % соответственно при смешивании регенерированного хлопка составило 7,09 % “Ўрта” и 5,18 “Яхши” и класс волокна не менялся (таблицу 5) [7]. Как видно из полученных результатов, существует потребность определить, следует ли перерабатывать регенерированный хлопок вместе с основным хлопком или отдельно с учетом исходной влажности, засоренности хлопка, количества примесей и производительности оборудования очистки хлопка.
Выводы
- По результатам эксперимента, проведенного в производственных условиях, в волокне, полученном из очищенных партий основного хлопка I сорта, пороки и сорные примеси в существующем и в рекомендуемом вариантах составили 3,98 % и 3,1 %, что соответствует I сорту “Оддий”, I сорту класса “Оддий” в волокне регенерированного хлопка это составило 8,0 % и 5,25 % и получено нестандартное волокно.
- Содержание пороков и сорных примесей в волокне, полученном из хлопка машинной уборки Ан-Баяут IV/3 с исходной засоренностью 17,5 % и влажностью 12,7 %, в существующем варианте составило 6,64 %, что соответствует классу “Ўрта”, а в рекомендуемом варианте составило 5,4 %, что соответствует классу “Яхши”.
- Пороки и сорные примеси в волокне, полученном путём переработки регенерированного хлопка, составили 10,8% и 9,1 % соответственно, что соответствует IV сорту класса “Ифлос” и IV сорту класса “Оддий”.
Список литературы:
- Арипджанов М.С. и др. Влияние параметров колосниковых решеток на очистительный эффект очистителей хлопка-сырца // Хлопковая промышленность. – Ташкент. – № 4. – 2008. – С. 19–20.
- Будин Е.Ф. Исследование влияния исходной засоренности хлопка-сырца на технологические показатели его очистки и качество волокна // Хлопковая промышленность. – 2002. – № 6. – С. 12–14.
- Бурнашев Р.З. Теоретические основы технологии очистки хлопка-сырца: дис. … д-ра техн. наук: 05.19.02. – Кострома, 1984.– 432 с.
- Гробер А.Д. Некоторые особенности ударного взаимодействия хлопковых материалов с рабочими органами хлопко обрабатывающих машин // Хлопковая промышленность. – Ташкент. – № 6. – 2001. – С 9–10.
- Парпиев А.П., Кузиев Б.Н., Турдиниёзова Ҳ.Ғ. Тозалаш жараёнида ажралган пахтали чиқиндини фракция таркибини тадқиқоти // сб. докладов Республиканской конференции. – Ташкент 2022 йил. – 23–24 ноябрь. – 7-9 б.
- Парпиев А.П., Муминов М., Кузиев Б.Н. Пахта тозалаш ускуна ларининг тозалаш имкониятларини таҳлили // сб. докладов Республиканской конференции. – 1-қисм. – Ташкент 2019 йил. – 16-17 май. – 105-107 б.
- Парпиев А.П., Эргашов М., Кузиев Б.Н., Ҳамидов О.Қ., Қайта ишлаш жараёнида пахтани чўзилишга қаршилигини баҳолашга оид назарий ва тажриба-синов тадқиқотлар // Ўзбекистон тўқимачилик журнали. Илмий-техникавий ва амалий журнал. – Тошкент. – № 1. – 2023. – 28-40 б. -
- Усманов Дж.А. Исследование эффективности очистки хлопка-сырца от сорных примесей: дисс. … канд. техн. наук. – Ташкент, 1981. – Ст. 140.
- Усманов Х.С. и др. Построение регрессионной модели для процесса вертикальной очистки хлопка-сырца // Universuм: технические науки. – 2021. – Вып. 3(84). – Ч. 2. – С.84–90. DOI: 10.32743/UniTech.2021.89.8-1
- [Электронный ресурс]. – Режим доступа: https://ttp.ivgpu/com/wp-content/uploads/2015/11/308_12.pdf. (дата обращения: 07.08.2025).