д-р техн. наук, профессор, Ташкентский институт текстильной и легкой промышленности, Узбекистан, г. Ташкент
УСОВЕРШЕНСТВОВАННАЯ ОПОРА ДЛЯ ПОГЛОЩЕНИЯ ВИБРАЦИЙ В ТЕХНОЛОГИЧЕСКИХ МАШИНАХ
АННОТАЦИЯ
В данной статье представлена усовершенствованная конструкция опоры для поглощения колебаний вращающихся валов, предназначенная для применения в технологических машинах. Проведен обзор подшипников для вращающихся валов технологических машин, а также изобретение подшипниковых опор. Предложенная техническая реализация способствует увеличению срока службы подшипников, снижению вибрационных нагрузок и повышению надёжности подвижных механизмов. Решение может быть применимо в широком спектре отраслей машиностроения, где используются подшипниковые узлы, подверженные динамическим нагрузкам.
ABSTRACT
This article presents an improved support design for absorbing vibrations of rotating shafts, designed for use in technological machines. Bearings for rotating shafts of technological machines are reviewed, as well as the invention of bearing supports. The proposed technical implementation helps to increase the service life of bearings, reduce vibration loads and increase the reliability of moving mechanisms. The solution can be applied in a wide range of engineering industries where bearing assemblies subject to dynamic loads are used.
Ключевые слова: опора для поглощения колебаний, резиновая втулка, подшипник, вибрации, вращающийся вал, механизмы, технологические машины, динамические нагрузки, машиностроение.
Keywords: vibration absorption support, rubber sleeve, bearing, vibrations, rotating shaft, mechanisms, technological machines, dynamic loads, mechanical engineering.
Введениe. На современном этапе развития машиностроения основными задачами являются повышение качества выпускаемой техники, а также совершенствование процессов, способствующих росту производительности труда на промышленных предприятиях. Вращающиеся валы, как важнейшие элементы технологических машин, находят широкое применение в различных отраслях инженерии, включая энергетику, металлургию, химическую промышленность и аэрокосмическую сферу. Развитие технологий ведёт к повышенной интеграции, интеллектуализации и автоматизации таких машин. Подшипники являются ключевыми элементами в обеспечении стабильной и надёжной работы вращающихся валов технологических машин. Их основная функция заключается в снижении коэффициента трения между сопрягаемыми поверхностями подвижных узлов, что способствует увеличению точности вращательного движения, снижению износа деталей и повышению общего ресурса механических систем. Состояние подшипников качения напрямую влияет на надёжность и устойчивость всей механической системы. Мониторинг технического состояния и прогнозирование срока службы подшипников качения в составе вращающегося вала технологических машин имеет решающее значение для обеспечения его стабильной и эффективной работы, снижение экономических потерь. Со временем за счёт динамических нагрузок и колебаний вращающихся валов подшипники выходят из строя, что связано с продолжительной эксплуатацией при изменения технологических нагрузок. Срок службы подшипниковых опор зависит от качества материалов, технологии изготовления и эксплуатации. Чаще всего, о повреждении свидетельствуют следующие визуальные признаки, как рост вибрации и температуры корпуса, а также шум.
Материалы и методы. Анализ работы пары «вал - подшипник» в условиях технологических машин показывает, что на её надёжность и эффективность существенно влияют механические деформации, вибрационные воздействия и характер приложенных нагрузок. Деформации, возникающие как в деталях конструкции (валу, корпусе, посадочных местах), так и в самих подшипниках, приводят к нарушению геометрии сопряжений и могут вызывать перекосы, что, в свою очередь, снижает равномерность распределения нагрузки между телами качения и увеличивает контактные напряжения. Это существенно ускоряет износ и снижает срок службы узла. Вибрационные нагрузки, особенно в условиях переменной частоты вращения и ударных воздействий, создают колебательные движения между валом и корпусом, что может вызвать резонансные явления, нестабильность работы, а также усталостное разрушение подшипников. Особенно опасны длительные вибрации на рабочих частотах, близких к собственным частотам системы.
Нагрузки, как постоянные, так и переменные по величине и направлению, определяют требования к типу и конструкции подшипника. Недостаточное соответствие подшипника по грузоподъёмности, углу восприятия усилий и жесткости может привести к локальным перегрузкам, образованию трещин и преждевременному выходу из строя узла. Современные методы диагностики технического состояния подшипников основаны на анализе виброакустических сигналов, регистрируемых в процессе работы машины. Анализ этих сигналов позволяет выявлять признаки дефектов на ранней стадии и прогнозировать остаточный ресурс узлов. Однако сложность формы сигналов и наличие шумов требуют применения эффективных методов обработки данных.
В ряде работ выявление дефектов на наружном кольце осуществлялось с применением статистических методов, таких как быстрое преобразование Фурье [1], [2], [3], либо с использованием точных подходов частотного и вейвлет-анализа [4], [5]. Полученные параметры использовались в качестве входных данных для моделирующего движении. Однако подобные исследования, как правило, не предоставляют информации о величинах сил, действующих на дорожки качения, поскольку высокий уровень шума в сигналах затрудняет их количественную оценку. Кроме того, до настоящего времени отсутствуют экспериментальные работы, способные отразить влияние скольжения на работу подшипников качения. Некоторые исследователи разрабатывали аналитические модели для оценки напряжений и деформаций, возникающих при контакте несущих элементов [6], [7]. Также в научной литературе представлены различные численные модели подшипников [8], однако большинство из них ограничено анализом лишь статических состояний или не учитывает деформируемость элементов. Основной причиной этого является высокая вычислительная сложность, связанная с моделированием большого количества контактирующих поверхностей в динамическом режиме.
Подшипники качения являются одними из наиболее широко применяемых компонентов в промышленности. Они существенно влияют на динамическое поведение вращающихся машин и могут служить источником вибраций и шума в этих системах. Повышение надёжности и эксплуатационных характеристик подшипников качения имеет решающее значение для предотвращения аварийных отказов оборудования. Дефекты в подшипниках могут возникать как в процессе эксплуатации, так и на этапе производства. Для обнаружения и диагностики дефектов применяются различные методы. При этом моделирование и численное симулирование обеспечивают всё более точный подход к прогнозированию динамического поведения систем, включающих шарикоподшипники. Подшипники качения, подвергнутые радиальной нагрузке, создают вибрации даже при идеальной геометрии, что обусловлено наличием конечного числа тел качения, несущих нагрузку. Количество тел качения и их положение в зоне нагрузки изменяются при вращении подшипника, вызывая периодическое изменение общей жёсткости узла. Это изменение жёсткости порождает вибрации, известные как вибрации от переменной жёсткости [9]. При наличии дефекта уровень вибрации значительно возрастает. Дефекты подшипников условно делятся на распределённые и локальные. К распределённым дефектам относят шероховатость поверхности, волнистость, несоосность дорожек качения и несоответствие размеров тел качения [10], которые, как правило, вызваны производственными отклонениями, неправильной установкой или абразивным износом [11]. Локальные дефекты включают трещины, раковины и выкрашивания на поверхностях качения. Основной причиной отказа подшипников качения является выкрашивание дорожек или тел качения, возникающее при зарождении усталостной трещины под поверхностью металла, которая со временем выходит на поверхность, вызывая отслоение металлической части и образование выемки [12]. В момент, когда локальный дефект контактирует со спаренным элементом, происходит резкое изменение контактных напряжений, что вызывает короткий импульс. Такой импульс создаёт вибрации и шум, которые можно использовать для обнаружения дефектов подшипника.
В последние годы опубликовано множество исследований, посвящённых выявлению и диагностике дефектов подшипников [13], [14], [15]. Тандон и Чоудхури [16] представили подробный обзор методов вибро- и акустических измерений для обнаружения дефектов в подшипниках качения. Однако лишь немногие работы предлагают математические модели, имитирующие локальные дефекты, тогда как большинство моделей сосредоточено на распределённых дефектах, особенно на волнистости дорожек качения [17]–[20].
Одна из первых работ по механическому моделированию локальных дефектов принадлежит МакФаддену и Смиту [21]. Они предложили модель вибраций, вызванных одиночным точечным дефектом на внутреннем кольце подшипника под радиальной нагрузкой. В их модели вибрации представляются в виде последовательности импульсов на частоте прохождения тел качения, модулированной распределением нагрузки и амплитудой передаточной функции, свёрнутой с откликом системы, представленным экспоненциальным затуханием. Позднее они расширили свою модель для описания вибраций, возникающих при наличии нескольких точечных дефектов [22], и эти модели были верифицированы исследователями NASA с применением методов нелинейного анализа сигналов [23].
Тандон и Чоудхури [16] разработали аналитическую модель для прогнозирования частот вибраций и амплитуд значимых гармоник, возникающих в подшипниках качения при наличии локальных дефектов на наружном или внутреннем кольце либо на телах качения под радиальной и осевой нагрузкой. Дефекты моделировались с использованием импульсов треугольной, прямоугольной и полусинусоидальной формы. Результаты показали, что при наличии как радиальной, так и осевой нагрузки дефекты на наружном кольце вызывают вибрации на характерной частоте дефекта наружного кольца и её гармониках. В случае дефектов на внутреннем кольце, при отсутствии радиальной нагрузки вибрации возникают только на частоте дефекта внутреннего кольца. Однако при наличии обеих нагрузок вибрации наблюдаются как на основной частоте дефекта, так и на её биениях с частотой вала. Также было установлено, что форма импульса влияет на уровень вибраций.
Анализ множества экспериментальных исследований в современных технологических решении посвящённые изучению динамического поведения подшипников.
Результаты и обсуждение. В работе рассматривается влияние конструктивных неоднородностей подшипника, таких как волнистость колец, несоосность и локальные дефекты, на вибрационные характеристики. Эти отклонения моделируются через изменение деформаций в зонах контакта шаров с дорожками качения. Несоосность учитывается за счёт задания начальных смещений между кольцами. Модель отличается вычислительной эффективностью и может использоваться в многотельных и ротодинамических расчётах в качестве интерфейсного элемента между ротором и опорой. Во второй части работы представлены результаты моделирования электродвигателя с двумя подшипниками [24].
Теоретически смоделирована динамическая реакция сбалансированного горизонтального жёсткого ротора электродвигателя, опирающегося на шариковый подшипник с глубокими канавками. В исследовании рассматривается влияние радиального внутреннего зазора подшипника на поведение ротора. Уравнения системы были численно интегрированы, а полученные результаты проверены с использованием метода гармонического баланса и чередования частот во временной области. Установлено, что изменение радиального зазора приводит к смещению пиков отклика системы при варьировании частоты вращения. Параметрическое исследование, проведённое с учётом радиального зазора, выявило наличие третьей области неустойчивости, ранее не описанной в литературе. Появление областей периодического, субгармонического и хаотического поведения оказалось в значительной степени обусловлено величиной радиального зазора. Для анализа устойчивости и характера отклика системы использованы метод Флоке и построение карт Пуанкаре высокого порядка. Жёсткость подшипника оценивалась экспериментально, а также исследовалось, как изменение радиального зазора влияет на эту характеристику [25].
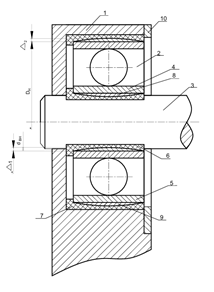
Рассматриваемая конструкция поясняется чертежом (рис. 1.2), где на а) - схема установки вала на опорах с усеченными коническими втулками, на б) - вид А.
Сущность данной конструкции заключается в том, что опора для поглощения колебаний вращающихся валов содержит корпус со смонтированным в нем подшипником и размешенным между его наружной поверхностью и корпусом упругий элемент выполненный в виде усеченной конической втулки. Усеченная коническая втулка выполнена из резины, при этом основание с меньшем диаметром усеченных конических втулок опор вала установлены в корпусе в противоположных друг к другу направлениях и находится с наружной стороны корпуса, а основания с большим диаметром упругих втулок направлены друг к другу и находится с внутренней стороны корпуса. Усеченная коническая форма упругих втулок поглощает колебания в радиальном, а также и в осевом направлениях.
Опора для поглощения колебаний вращающихся валов содержит корпус 1, в котором установлены неподвижно упругие втулки 2, 3 усеченной конической формы. Упругие втулки 2 и 3 выполнены из маслостойкой резины. При этом диаметры d меньших оснований упругих втулок 2 и 3 установлены в корпусе 1 в противоположных друг к другу направлениях и находятся с наружной стороны корпуса 1. Диаметры D больших оснований упругих втулок 2 и 3 установлены в корпусе 1 в направлении друг к другу и находятся с внутренней стороны корпуса 1.
В отверстия упругих втулок 2 и 3 установлены подшипники 4, отверстия которых установлен вал 5.
В процессе работы на вращающихся вал действуют следующие силы: движущий вращательный момент, сила тяжести, силы инерции от неуравновешенных масс, силы трения, технологические нагрузки и др. Составляющие равнодействующей силы будет направлена, как в радиальном, так и осевых направлениях. Эти силы будут действовать циклически на корпус 1 через подшипник 4 и упругие втулки 2 и 3. Наличие упругих втулок 2 и 3 значительно уменьшают действие этих сил на корпус 1.
|
Вид А |
Вид В |
Рисунок 1.2. Опора для поглощения колебаний вращающих валов
При этом величина изгиба вала 5 за счет радиальных составляющих сил значительно уменьшается. Выполнение упругих втулок 2 и 3 в виде усеченного конуса с диаметрами оснований d и D позволяют поглощение осевых составляющих сил [26]. Но, осталось недостаточно изученным влияние на характеристику движения рабочих органов конструкции подшипниковых опор.
Таким образом, при проектировании и эксплуатации узлов, содержащих пару «вал - подшипник», необходимо учитывать совокупность всех факторов. Применение виброизолирующих конструкций, таких как резиновые и металлорезиновые втулки со специальной криволинейной геометрией, позволяет значительно повысить устойчивость подшипникового узла к деформациям и вибрациям, снизить амплитуду колебаний и продлить срок его службы. Комплексный инженерный подход, включающий расчёт на жёсткость, точную установку и правильный выбор смазки, является залогом надёжной работы подшипников в составе технологических машин.
Предлагаемая новая конструкция. Предлагаемая конструкция опоры для вращающихся валов относится к сфере общего машиностроения и предназначена для использования в составе различного технологического оборудования, где требуется надежная поддержка и устойчивое вращение валов. Опора для поглощения колебаний вращающихся валов, содержащая корпус со смонтированным в нем подшипником и резиновую втулку, отличающейся тем, что между валом и подшипником, а также между корпусом и подшипником установлены резиновые втулки, при этом, резиновая втулка, установленная между валом и подшипником выполнена криволинейной вогнутой поверхностью, а резиновая втулка установлена между наружной поверхностью подшипника и внутренней поверхностью корпуса выполнена с криволинейной выпуклой внутренней поверхностью, причем между соприкасающимися криволинейными поверхностями резиновых втулок и поверхностей подшипника жестко установлены металлические втулки с соответствующими криволинейными формами их поверхностей, имеет соотношение:
/Juraev.files/image003.png)
где
,
– толщины металлических втулок 8 и 9 по их середине,
- внутренний диаметр кольца 4,
– наружный диаметр кольца 5.
/Juraev.files/image008.png)
Рисунок 2. Опора для поглощения колебаний вращающихся валов
Конструкция работает следующим образом. При вращении вала 3 на него действуют переменные нагрузки, приводящие к крутильным и вертикальным колебаниям вала 3. Эти колебания в основном амортизируются за счет деформации резиновой втулки 6. Кроме этого, за счет некоторых малых деформаций резиновой втулки 7, силы, действующие на корпус, также амортизируются. С другой стороны, в мобильных машинах и механизмах за счет внешних нагрузок происходят колебания корпуса 1, которые амортизируются в основном деформацией резиновой втулки 9. При воздействии сил с различными характеристиками и углом воздействия как на вал 3, так и на корпус 1 подшипник 2 центрируется за счет переменных деформаций резиновых втулок 6 и 7 в сечениях по их длине (наименьших по середине и максимальных по краям резиновых втулок 6 и 7). При этом, значительно уменьшаются угловые колебания подшипника 2 за счет металлических втулок 8 и 9 адаптацией криволинейными их поверхностями.
Заключение. Предлагаемая конструкция опоры для поглощения колебаний вращающихся валов позволяет существенно повысить виброизоляционные характеристики механизмов, используемых в технологических машин. Применение резиновых втулок с криволинейными вогнутыми и выпуклыми поверхностями, а также жёстко установленных металлических втулок с соответствующим профилем, обеспечивает равномерное распределение нагрузки и снижение амплитуды колебаний. Конструкция обеспечивает эффективное поглощение колебаний вращающихся валов и корпусов при воздействии на них различных сил и моментов с переменными значениями и направлениями. Это, в свою очередь, способствует увеличению ресурса работы подшипников и повышению надёжности работы мобильных машин и механизмов. Предложенная техническая реализация может быть эффективно интегрирована в серийное производство машин, подверженных вибрационным нагрузкам.
Список литературы:
- B.K. Bae et al. «A Hilbert transform approach in source identification via multiple-input, single-output modelling for correlated inputs». Mechanical Systems and Signal Processing, 1998.
- S. Orhan et al. «Vibration monitoring for defect diagnosis of rolling element bearings as a predictive maintenance tool».Comprehensive Case Studies NDT&E International, 2006.
- R. Rubini et al. «Application of the Envelope and Wavelet Transform Analyses for the Diagnosis of Incipient Faults in Ball Bearings». Mechanical Systems and Signal Processing, 2001.
- S. Harsha. «Nonlinear dynamic analysis of an unbalanced rotor supported by roller bearing. Chaos, Solitons and Fractal». Chaos, Solitons and Fractal, 2005.
- N. Tandon et al. «An analytical model for the prediction of the vibration response of rolling element bearings due to localized defect», Journal of Sound and Vibration, 1997.
- Y. Kang et al. «A modification of the Jones–Harris method for deep-groove ball bearings». Tribology International, 2006.
- N. Sawalhi et al. «Simulating gear and bearing interactions in the presence of faults Part I. The combined gear bearing dynamic model and the simulation of localised bearing faults». Tribology International, 2008.
- J. Boyes «Reciprocating machinery analysis with FFT analyser». Brüel and Kjaer Application Notes, 1981
- C.S. Sunnersjo. «Varying compliance vibrations of rolling bearings». Journal of Sound and Vibration, 1978.
- C.S. Sunnersjo. «Rolling bearing vibrations—geometrical imperfections and wear». Journal of Sound and Vibration, 1985.
- N. Tandon et al. «A review of vibration and acoustic measurement methods for the detection of defects in rolling element bearings». Tribology International, 1999.
- H. Ocak et al. «Estimation of the running speed and bearing defect frequencies of an induction motor from vibration data». Mechanical Systems and Signal Processing, 2004.
- V. Purushotham et al. «Multi-fault diagnosis of rolling bearing elements using wavelet analysis and hidden Markov model based fault recognition». NDT&E International, 2005.
- N. Lynagh et al. «Bearing induced vibration in precision high speed spindles». International Journal of Machine Tool Design and Research, 2000.
- S.P. Harsha et al. «Nonlinear dynamic behaviors of rolling element bearings due to surface waviness». Journal of Sound and Vibration, 2004.
- P.D. McFadden et al. «Model for the vibration produced by a single point defect in a rolling element bearing». Journal of Sound and Vibration, 1984.
- P.D. McFadden et al. «The vibration produced by multiple point defect in a rolling element bearing». Journal of Sound and Vibration, 1985.
- N. Tandon et al. «An analytical model for the prediction of the vibration response of rolling element bearings due to a localized defect», Journal of Sound and Vibration, 1997.
- M. Tiwari et al. «Effect of radial internal clearance of a ball bearing on the dynamics of a balanced horizontal rotor». Journal of Sound and Vibration, 2000.
- S.P. Harsha. «Nonlinear dynamic analysis of an unbalanced rotor supported by roller bearing». Chaos, Solitons & Fractals, 2005.
- S. Abbasion et al. «Rolling element bearings multi-fault classification based on the wavelet denoising and support vector machine». Mechanical Systems and Signal Processing, 2007.
- T.E. Tallian et al. «Progress in rolling bearing vibration research and control». ASLE Transactions, 1965.
- A. Rafsanjani a, S. Abbasion a, A. Farshidianfar b, H. Moeenfard . «Nonlinear dynamic modeling of surface defects in rolling element bearing system». Journal of Sound and Vibration, Volume 319, 2009.
- Sopanen J.; Mikkola A. «Dynamic model of a deep-groove ball bearing including localized and distributed defects. Part 1: Theory» Proceedings of the Institution of Mechanical Engineers, Part K: Journal of Multi-body DynamicsТом 217, Выпуск 3, Страницы 201 – 2112003
- Tiwari M., Gupta K. Prakash O. «Effect of radial internal clearance of a ball bearing on the dynamics of a balanced horizontal rotor». Journal of Sound and VibrationТом 238, Выпуск 5, Страницы 723 - 75614 December 2000.
- А. Джураев, С. Юнусов, Ш. Махмудова. “Разработка конструкции и научное обоснование расчёта валов на упругих подшипниковых опорах технологических машин” монография 2024. Ташкент.
/Juraev.files/image001.jpg)
/Juraev.files/image002.jpg)