д.ф.т.н., (PhD) доцент, Джиззакский политехнический институт, Республика Узбекистан, г. Джиззак
ЭКСПЕРИМЕНТАЛЬНЫЕ ИССЛЕДОВАНИЯ, ПРОВЕДЕННЫЕ В ЛАБОРАТОРНОМ ОБОРУДОВАНИИ УСОВЕРШЕНСТВОВАННОГО ИНТЕНСИВНОГО СЕПАРАТОРА
АННОТАЦИЯ
При первичной переработке хлопкового сырья средством хранения хлопка, транспортировки его из бунта и хранения хлопка в производственные цеха и передачи готовой продукции между цехами являются пневмотранспортеры. Сепараторы — это устройства, которые отделяют поступающий воздух и хлопок от хлопковой смеси в данных пневматических транспортирующих устройствах. Сепараторы применяются в двух типах условий: в передвижном состоянии и непередвижные, то есть в стационарном состоянии. Внедрение технологии отделение хлопка-сырца из состава воздуха является основной проблемой хлопкоочистительного производства. Поэтому для внедрения данной технологии в производство в лабораторных условиях было создано устройство для сепарации хлопка-сырца. Основной целью данной разработки является проведение испытательных работ на устройстве для выбора его основных параметров и на их основе внедрение в производство технологии отделения хлопка-сырца от воздуха. В данной статье разработан лабораторный вариант усовершенствованного интенсивного сепаратора. На созданной лабораторной установке проводились экспериментальные работы, а качественные показатели волокна определялись с использованием оборудования HVI. Данные результатов исследованиц представлена в данной статье.
ABSTRACT
During the primary processing of raw cotton, pneumatic conveyors are used to store cotton, transport it from the bin, store cotton in production shops, and transfer finished products between shops. Separators are devices that separate incoming air and cotton from the cotton mixture in these pneumatic conveying devices. Separators are used in two types of conditions: mobile and non-mobile, i.e. stationary. The introduction of the technology of separating raw cotton from air is the main problem of cotton ginning. Therefore, a device for separating raw cotton was created in laboratory conditions to introduce this technology into production. The main goal of this development is to conduct test work on the device to select its main parameters and, based on them, introduce the technology of separating raw cotton from air into production. In this article, a laboratory version of an improved intensive separator is developed. Experimental work was carried out on the created laboratory setup, and the quality indicators of the fiber were determined using HVI equipment. The results of the researchers are presented in this article.
Ключевые слова: хлопок, интенсивный сепаратор, воздушная трубка, вакуум-клапан, сетчатая поверхность, скребок, вентилятор, скорость.
Keywords: Cotton, intensive separator, air tube, vacuum valve, mesh surface, scraper, fan, speed.
Ведение. Устройство отделения воздуха и хлопка состоит из трех основных рабочих частей, это части, которые подают хлопок-сырец в рабочую камеру, отделяют его от потока воздуха и выделяют хлопок и воздух. Эти части, в свою очередь, делятся на структурные элементы. Например, задняя стенка состоит из входного патрубка, разделительная часть состоит из сетчатой поверхности и скребка, а часть выхода хлопка состоит из вакуум-клапана, и в части выхода воздуха имеются две боковые воздушные камеры. Эти элементы затрудняют циркуляцию воздуха и повреждают хлопковое волокно и семена. Поэтому для предотвращения этого необходимо создание новых усовершенствованных конструкций сепараторов, аналогичных сепаратору СХ. Данная конструкция должна включать в себя, прежде всего, усовершенствование перечисленных рабочих органов и их элементов, а также разработку новых инструментов для их замены. На основе этого мы создали технологию эффективного отделения хлопка-сырца от воздуха без увеличения уровня их повреждения. На устройство, реализующее данную технологию, Агентством по интеллектуальной собственности Республики Узбекистан 23.01.2025 г. выдан патент на изобретение № IAP 7917 «Сепаратор для хлопкового сырья» от 23.01.2025 г. (рисунки 1 и 2) [1]. В связи с этим, целью исследования является разработка интенсивного сепаратора и проведение экспериментов на усовершенствованном сепараторе.
Материалы и методы. Сепарирующее устройство, предотвращающее аэродинамическое сопротивление и повреждение семян, состоит из двух противоположных входных патрубков, расположенных под
углом, аналогичным двум выходным патрубкам сепаратора СС-15А. Смесь хлопка и воздуха, поступающая из противоположных входных патрубков, сталкивается друг с другом под
углом из-за своей скорости. В результате два потока плавно встречаются, и хлопковое сырье под действием силы инерции направляется к вакуум-клапану. Воздушный поток и примеси в хлопке направляются в воздухоотводную трубу через различные поверхности, расположенные аналогично различным поверхностям в воздухоотводной трубе интенсивного сепаратора. В результате встречного столкновения струи хлопка, не попавшие в вакуум-клапан летучки хлопка по инерции собираются на сетчатой поверхности, а находящийся там скребок направляет летучки хлопка обратно в вакуум-клапан [2-7].
При работе сепаратора хлопок-сырец вместе с потоком воздуха попадает в камеру разделения через входной патрубок. При этом скорость воздуха в камере разделения уменьшается, основная часть хлопка под действием силы инерции ударяется о изогнутую стенку камеры и извлекается вакуум-клапаном, а затем выбрасывается через отводящий патрубок. Мелкие летучки воздуха засасываются через трубу пылеудаления и направляются в пылеуловители. В результате хлопок, освобожденный от силы воздуха, отделяется от сетчатой поверхности под действием собственного веса и центробежных сил. Этот сепаратор позволяет полностью отделить транспортируемый хлопок от воздуха, что снижает повреждение семян и не снижает качество хлопка. Также отличается способностью очищать даже хлопок с высоким содержанием влаги и загрязнений скребка [8-11].
Изобретение направлено на совершенствование технологии отделения хлопка-сырца от транспортирующего воздуха и применяется на хлопкоочистительных предприятиях.
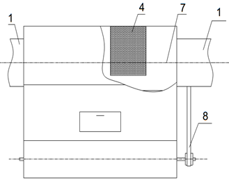
Интенсивный сепаратор состоит из: 1 – входного патрубка, который, в свою очередь, состоит из рабочей камеры сепаратора 2, в нижней части бункера установлен вакуум-клапан 3. За разделительной камерой перед воздухоотводной трубой 6 установлена сетчатая поверхность 4, а для ее очистки установлен скребок 5 (рисунки 1 и 2).
Рабочая камера 2 снабжена ремнем 8, служащим для вращения вала вакуум-клапана, установленного параллельно шкивам приводного вала скребка 7. На передней стороне сепаратора также установлена дверца 9 для очистки рабочей камеры.
|
|
|
|
А |
Б |
Рисунок 1. А - поперечное сечение интенсивного сепаратора. Б - вид спереди в разрезе дугообразной поверхности
1 - входной патрубок, 2 - рабочая камера, 3 – вакуум-клапан, 4 - сетчатая поверхность, 5 - скребок, 6 - воздухоотводная труба, 7 - вал вращения скребка, 8 – вакуум-клапан и механизм вращения скребка, 9 - отверстие для очистки рабочей камеры
/Abbazov.files/image004.jpg)
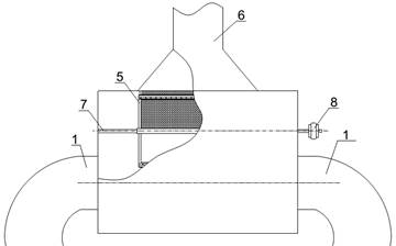
Рисунок 2. Вид сверху интенсивного сепаратора
Интенсивный сепаратор работает следующим образом. Смесь хлопка и воздуха, поступающая из пневмотранспортных труб, поступает в рабочую камеру 2 сепаратора через входной патрубок 1, расположенный под противоположным
углом друг к другу. Поток хлопка из противоположных труб сталкивается в мягком режиме своей инерцией и направляется собственным весом к вакуум-клапану 3. Отделенные силой всасывания воздуха примеси и остаточные частицы хлопка задерживаются сетчатой поверхностью 4, установленной в задней части сепаратора, аналогичной сетчатой поверхности интенсивного сепаратора. Удерживаемые частицы хлопка через скребок 5, работающий в щадящем режиме, направляются в вакуум-клапан. Воздух и примеси, проходящие через сетчатую поверхность, направляются на очистку через всасывающий патрубок 6 (рисунки 1-2).
Вал скребка 7 и механизм вращения вакуум-клапана 8 приводятся в действие одним электродвигателем. Очистка внутренней части камеры осуществляется через дверцу очистки рабочей камеры 9.
Поскольку скорости ножниц невысокие, они не оказывают сильного воздействия на хлопок. В результате вращения скребков происходит очистка хлопка, который формируется в форме дуги. Сепаратор выполнен из различных сеток в виде дуг, что обеспечивает равномерное распределение хлопка в вакуум-клапане.
Если на хлопкоочистительных предприятиях будет внедрена технология отделения семян хлопка от воздуха, описанная выше, то мы сможем полностью отделить хлопок от воздуха и значительно снизить повреждение семян в результате столкновения хлопка друг с другом.
Разработано и испытано в лабораторных условиях устройство для проведения экспериментальных испытаний интенсивного сепараторного устройства.
Данное лабораторное устройство в основном предназначено для отделения хлопка-сырца от воздуха методом встречного встряхивания (рис. 3).
/Abbazov.files/image006.jpg)
Рисунок 3. Общий вид лабораторного устройства
Соответствующее давление воздуха создается с помощью вентилятора 2ВР-2, который выполняет функцию протягивания хлопка через воздух. После того, как струя хлопка, всасываемая силой воздушного потока через входное отверстие, попадает в рабочую камеру, она сталкивается друг с другом и направляется к вакуум-клапану. Воздушный поток поступает к вентилятору, пройдя через различные поверхности в форме полукруга. Попавший на сетчатую поверхность хлопок очищается скребком, чтобы не засорить отверстия сетчатой поверхности.
С его помощью прилипшие к нему летучки хлопка отделяются от сетчатой поверхности и переносятся в вакуум-клапан. Геометрические размеры рабочей камеры зависят от того, что сетчатая поверхность равна поверхности входного патрубка, расположенного под
углом, противоположным «живой» поверхности, т.е.
.
где:
- площадь поперечного сечения входного патрубка 1, м2
- площадь поперечного сечения «живой» поверхности сетчатой поверхности, м2.
Основной целью сглаживания этих поверхностей является минимизирование влияния аэродинамического сопротивления на воздушный поток.
После отделения хлопка-сырца от воздуха запыленный воздух проходит через сетчатую поверхность и выбрасывается через вытяжную трубу с помощью вентилятора. В основе работы данного лабораторного прибора лежит определение основных геометрических размеров сетчатой поверхности и ее формы, выбор формы и движения скребка, а также выбор соответствующих параметров прибора [12-15].
Результаты и обсуждение. Экспериментальные работы проводились на хлопке-сырце 1-го и 2-го селекционного сорта «Султан». В данном случае после того, как хлопок со средней начальной влажностью 5,8% и средним уровнем примесей 3,21% был проведен на пильном джине ДЛ-10, были проверены показатели качества начального состояния волокна на HVI, и было установлено, что % Area-площадь примесей составила в среднем 0,3%, Cnt-число примесей составило в среднем 25,8, UHM-высокая средняя длина составила 1,138 дюйма, ML-средняя длина составила 0,942 дюйма, Unf-индекс однородности по длине составил 81,06%, а SFI-индекс короткого волокна составил 6,66%.
Представим основное содержание вышеперечисленных показателей.
- Площадь сорных примесей Trash Area (Area) - общая площадь частиц сорных примесей, обнаруженная системой HVI с помощью измерительных приборов, определяемая путем сканирования поверхности образца и выраженная в процентах от площади поверхности исследуемого образца.
- Количество сорных примесей Trash Count (Cnt) — количество отдельных частиц загрязнений в примесе диаметром 0,01 дюйма (0,25 мм) или более.
- Верхняя средняя длина Uppr Half Mean Length (UHM) — это средняя длина самых длинных волокон, составляющих половину массы испытуемого образца, выраженная в дюймах или мм. Значение этого термина известно также из его неправильного перевода как «Верхняя половина средней длины».
- Средняя длина Mean Length (ML) – средняя длина всех волокон в образце.
- Индекс однородности по длине Uniformity Index (Unf) — это мера отношения средней длины волокон к средней длине верхних волокон, выраженная в процентах.
- Индекс коротких волокон Short Fiber Index (SFI) — это доля волокон в образце, длина которых короче 0,5 дюйма (12,7 мм), выраженная в процентах.
Чтобы определить вышеизложенное, можно провести следующие эксперименты.
1. Определение существующих показателей хлопка;
2. Перемещение хлопка в СС-15А в существующем сепараторном устройстве;
3. Результаты хлопка-сырца, проведенным по усовершенствованному сепаратору.
Из каждой точки берется образец хлопка. При проверке качества волокна собранных образцов хлопка с использованием лабораторного оборудования HVI-900 были получены следующие результаты.
/Abbazov.files/image010.jpg)
Рисунок 4. Индекс коротких волокон в точках отбора проб
Из рисунка 4 видно, что индекс короткого волокна до сепаратора составлял 6,66%, но при пропускании хлопка через сепаратор СС-15A он составил 8,06%, а в усовершенствованном сепараторе он составил 7,06%. Таким образом, если индекс коротких волокон ниже в усовершенствованном сепараторе, это свидетельствует о том, что повреждение волокон уменьшилось.
Индекс однородности по длине (рисунок 5) представлен для дальнейшего изучения влияния повреждения волокон.
/Abbazov.files/image011.jpg)
Рисунок 5. Индекс однородности по длине волокон в точках отбора проб
Из рисунка 5 видно, что если до сепаратора индекс однородности по длине хлопка составлял 83,06%, то после пропускания через сепаратор СС-15A он составил 82,7%, а в усовершенствованном сепараторе — 82,94%. Таким образом, индекс длины волокна в усовершенствованном сепараторе выше, что означает снижение повреждения волокна и увеличение индекса длины волокна.
Для исследования эффективности очистки усовершенствованного сепаратора было проведено тестирование количества сорных примесей в собранном волокне с использованием оборудования HVI и получены следующие результаты (рисунок 6).
/Abbazov.files/image012.jpg)
Рисунок 6. Количество примесных примесей в точках отбора проб
Заключение. Из рисунка 6 видно, что количество примесей до сепаратора составило 25,8%, а после прохождения сепаратора СС-15А количество примесей составило 24,8%, а в усовершенствованном нами сепараторе – 23%. Таким образом, в усовершенствованном сепараторе количество сорных примесей меньше, а увеличение до 10% свидетельствует о повышении эффективности очистки волокон.
При изучении свойств хлопка и волокна, поступающих в сепаратор, изучаются свойства хлопка и волокна, проходящих через усовершенствованный сепаратор. Исследования проводились на хлопке селекции Султан I, II сорта. При этом начальная влажность хлопка составляет в среднем 5,8%, а уровень сорности хлопка составляет в среднем 3,21%. Мы видим, что индекс коротких волокон увеличился с 6,66% до 7,06%, что означает, что количество коротких волокон в образце уменьшилось. Индекс однородности по длине показывает, что он снижается с 83,06% до 82,94% и увеличился на 0,24% по сравнению с текущим значением. Из вышеизложенного видно, что в усовершенствованном сепараторе снижается скорость повреждения волокон.
Список литературы:
- Патент РУз. IAP 7917 / 23.01.2025. Аббазов И., Ходжаев Қ., Шаропов Б., Турсунов З. “Сепаратор для хлопка-сырца” // Патент Республики Узбекистан, 2025.
- Abbazov, I., Sarimsakov, O., Khodjiev, M., & Mardonov, B. (2018). Waste Produced at Cotton Waste Factories. American Journal of ASCIT Communications, 5, 22-8.
- Ilkhom, A., Muksin, X., Orof, A., & Ruxsora, K. (2019). The composition of releasing passion of dusty in the process of pat. International journal of engineering and advanced technology, 8(3 Special Issue), 279-283.
- Abbazov I., Usmankulov A., Sharopov B. Investigation of local resistance and air velocity in narrowing pipes for the transport of fibrous materials //IOP Conference Series: Earth and Environmental Science. – IOP Publishing, 2023. – Т. 1142. – №. 1. – С. 012093.
- Muksin, K., Ilkhom, A., Iqbol, M., Javlon, K., & Marguba, R. (2020). Technological breakthrough of cotton cleaning enterprises fiber waste. Solid State Technology, 63(6), 490-498.
- Abbazov I. et al. Theoretical Researching of Particle Movement in Cleaning Zone of Dust-Arrester //Polish Journal of Environmental Studies. – 2023. – Т. 32. – №. 4.
- Khodjiev M., Abbazov I., Karimov J. Influence of Local Resistance on Pressure and Speed Changes in Expanded Pneumatic Conveying //E3S Web of Conferences. – EDP Sciences, 2021. – Т. 304. – С. 03016.
- Abbazov, I., Khodjiev, M., Salimov, A., & Egamberdiyev, F. (2023, March). Investigation of air velocity in expanding and contracting pipes for the transport of fibrous materials. In IOP Conference Series: Earth and Environmental Science (Vol. 1142, No. 1, p. 012101). IOP Publishing.
- Xodjiev, M., Abbazov, I., Mardonov, B., & Sarimsakov, O. (2017). Effective Cleaning of Cotton Waste Produced at Cotton Cleaning Factories. American Association for Science and Technology ISSN: 2375-3803. Volume-5, Issue, (2), 22.
- Novruzov S. et al. Friction force determination between the inclined piles of the cotton gin drum from small impurities and seed of the fiber //E3S Web of Conferences. – EDP Sciences, 2023. – Т. 377. – С. 03015.
- Norboyev U., Sulaymonov R., Sharopov B. Trial results for the production of the improved 5LP linter //IOP Conference Series: Earth and Environmental Science. – IOP Publishing, 2023. – Т. 1142. – №. 1. – С. 012096.
- Abbazov I. Z. et al. Pressure loss during expansion of local resistance pipes in a mixture of air and fibrous waste //Textile Journal of Uzbekistan. – 2021. – Т. 1. – С. 4-11.
- Турсунов З. Р. У. и др. АНАЛИЗ СУЩЕСТВУЮЩИХ ОЧИСТИТЕЛЕЙ ХЛОПКОВЫХ СЕМЯН НА ХЛОПКООЧИСТИТЕЛЬНЫХ ПРЕДПРИЯТИЯХ //Universum: технические науки. – 2023. – №. 10-4 (115). – С. 11-17.
- Аббазов И. З. и др. ВЛИЯНИЕ МЕСТНОГО СОПРОТИВЛЕНИЯ НА ИЗМЕНЕНИЯ ДАВЛЕНИЯ И СКОРОСТИ В РАСШИРЕННОМ ПНЕВМОТРАНСПОРТЕ //Universum: технические науки. – 2022. – №. 3-3 (96). – С. 37-46.
- Sirojiddinov F. et al. Investigation of two-dimensional unsteady motion of deformable raw roller during saw ginning //E3S Web of Conferences. – EDP Sciences, 2023. – Т. 434. – С. 03034.
- Мурадов Р.М., Мухаметшина Э.Т. ИССЛЕДОВАНИЕ ДВИЖЕНИЯ ХЛОПКА-СЫРЦА В ОТВОДЕ ПНЕВМОТРАНСПОРТА // Universum: технические науки: электрон. научн. журн. 2022. 4(97). URL: https://7universum.com/ru/tech/archive/item/13536.
/Abbazov.files/image002.jpg)
/Abbazov.files/image003.png)