д-р. техн. наук, профессор кафедры «Локомотивы и локомотивное хозяйство», Ташкентский государственный транспортный университет (ТГТрУ), Республика Узбекистан, г. Ташкент
АЛГОРИТМ ДЛЯ ИССЛЕДОВАНИЯ РАЦИОНАЛЬНЫХ ПАРАМЕТРОВ ГИДРАВЛИЧЕСКОГО ГАСИТЕЛЯ КОЛЕБАНИЙ ВЫСОКОСКОРОСТНОГО ЭЛЕКТРОПОДВИЖНОГО СОСТАВА
АННОТАЦИЯ
В статье представлен алгоритм для аналитико-численной модели, предназначенной для подбора рациональных параметров модернизированных гидравлических гасителей колебаний высокоскоростного электроподвижного состава. Разработанная методика основана на оптимизации процессов наполнения и сжатия рабочей жидкости, что позволяет снизить потери энергии, уменьшить износ пар трения и повысить демпфирующую способность. Проведены численные исследования в MATHCAD 15, подтверждающие эффективность предложенного алгоритма. Полученные результаты могут быть использованы при проектировании новых и модернизации существующих конструкций гасителей. Разработанная методика также позволяет прогнозировать ресурс рессорного подвешивания и межремонтный период, повышая надежность и безопасность всего электроподвижного состава.
ABSTRACT
The article presents an algorithm for an analytical-numerical model designed to select the rational parameters of modernized hydraulic oscillation dampers of high-speed electric rolling stock. The developed methodology is based on optimizing the filling and compression processes of the working fluid, which allows for a reduction in energy losses, a decrease in the wear of friction pairs, and an increase in damping capacity. Numerical studies were conducted in MATHCAD 15, confirming the effectiveness of the proposed algorithm. The obtained results can be used in designing new and modernizing existing damper designs. The developed methodology also allows for predicting the resource of the leaf spring suspension and the inter-repair period, increasing the reliability and safety of the entire electric rolling stock.
Ключевые слова: электроподвижной состав, высокоскоростные электропоезда, гидравлический гаситель колебаний, аналитико-численная модель для динамического расчета, подбор рациональных параметров модернизированного гидравлического гасителя колебаний высокоскоростного электроподвижного состава, алгоритм, программа для среды программирования MATHCAD 15.
Keywords: electric rolling stock, high-speed electric trains, hydraulic vibration damper, analytical-numerical model for the dynamic calculation, selection of rational parameters for modernized designs of a hydraulic vibration damper for high-speed electric rolling stock, algorithm, a program for the MATHCAD 15 programming environment.
Введение. В мире для увеличения скоростей движения и пропускной способности железных дорог проводятся научно-исследовательские работы, направленные на улучшение динамических качеств электроподвижного состава, зависящих от правильного выбора и стабильности работы гидравлических и гидрофрикционных гасителей колебаний, а также параметров рессорного подвешивания. Для повышения их эффективности необходим подбор рациональных параметров, обеспечивающих надежную работу при высоких скоростях.
Целью данного исследования является разработка алгоритма оптимизации параметров гидравлического гасителя колебаний с учетом динамических нагрузок, возникающих в эксплуатации высокоскоростного электроподвижного состава. При этом одной из актуальных задач является разработка новых и совершенствование существующих конструкций гидравлических гасителей колебаний электроподвижного состава, и методов расчета на динамическую прочность, решение которых обеспечит безопасность движения и комфорт [1,2,3,4]. Современные программы для моделирования и расчета подвижного состава электрического транспорта, подвергающегося эксплуатационным нагрузкам, способствуют созданию более точной и обширной спецификации требований к системам рессорного подвешивания и гашения колебаний, а также разработке новых методов расчета динамической устойчивости, прочности, надежности и определения ресурса [2,4,5,6].
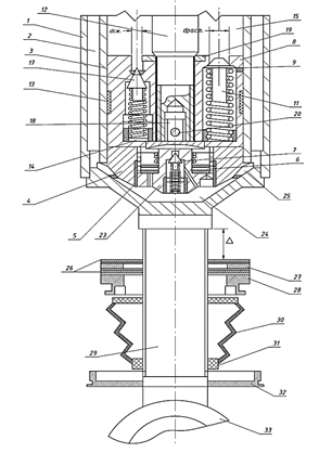
Новизной предлагаемого гидравлического гасителя колебаний телескопического типа является то, что диаметры каналов переливного клапана хода растяжения и канала предохранительного клапана хода растяжения находятся в соотношении диаметров
= 1 : 2 ; снизу установлен дополнительный шток, на котором с возможностью вертикального перемещения зафиксирован дополнительный демпфирующий элемент в виде металлического сильфона и комплекта упругих резиновых и металлических цилиндрических втулок (рисунок 1 [1]).
/Khromova.files/image002.png)
Рисунок 1. Расчетная схема для подбора рациональных размеров деталей модернизированных гидравлических гасителей колебаний электропоездов при повышенных скоростях движения по Патенту Республики Узбекистан на изобретение № IAP 05463 [1].
Материалы и методы. Разработанная аналитико-численная модель основана на уравнении Бернулли, описывающем движение жидкости в системе демпфирования. В расчетах учитываются: гидродинамические характеристики (перепады давления, местные сопротивления, скорости потока), оптимизация процесса наполнения (уменьшение динамических потерь, улучшение сжимаемости жидкости), оценка износа пар трения (определение интенсивности износа и прогноз межремонтного пробега), расчет демпфирующего сопротивления (определение допустимых диапазонов коэффициентов демпфирования), прогнозирование ресурса гасителя (определение предельного срока эксплуатации).
Численное моделирование выполнялось в MATHCAD 15, что позволило учесть нелинейные характеристики потока жидкости и его влияние на работу гасителя.
Результаты и обсуждение. Предлагаемая нами усовершенствованная методика расчета рациональных размеров деталей гидравлических гасителей колебаний электропоездов при повышенных скоростях движения состоит из 6-ти этапов.
1 этап. Оптимизация процесса наполнения ГГК (гидравлического гасителя колебаний).
1.1. Движение жидкости на перепускном участке от впускного сечения до поршня по уравнению Бернулли включает [5,6]: гидродинамический и скоростной напор, диссипативные потери на трение и местное сопротивление, оцениваемые соответствующими обобщенными коэффициентами
и
, где
– диаметры и длины канала;
- сечение поршня и впускного канала
; (1)
=
;
=
. (2)
1.2. Перепад давления
для гармонического закона движения поршня с выделением статических составляющих
,
находится из уравнения Бернулли [4,5,6] и определяется по формуле
;
=
;
; (3)
, (4)
при
и
;
, (5)
где
- скорость поршня ГГК;
- соотношение сечений;
и
- коэффициенты сопротивления трению и местного сопротивления.
1.3. Для улучшения процесса наполнения необходимо снизить динамический перепад
, т.е. уменьшить сопротивление трению
и местные сопротивления
.
1.4. Важным условием наполнения является обеспечение уровня жидкости не ниже перепускного устройства. Рабочая жидкость должна заполнять полости высокого давления и большую часть рекуперативной полости, при этом выполняется условие
, (6)
где
- площадь сечения цилиндра, штока и рекуперативной полости;
– наибольший ход поршня и длина резервуара.
Утечки жидкости в межремонтный период допускаются не ниже наименьшего уровня
, определяемого испытанием гасителя на стенде в условиях, близких к эксплуатационным
. (7)
1.5. Процесс наполнения улучшается при удалении воздуха из полостей высокого давления: расположения дроссельных отверстий в наивысших точках полостей, предохранении жидкости от взбалтывания и вспенивания.
1.6. Существенным фактором эффективного наполнения является обеспечение максимума перепускного сечения и минимума инертности (массы) перепускного диска (клапана):
(8)
1.7. Процесс наполнения ухудшается с повышением частоты колебаний из-за резкого возрастания инерционных и скоростных составляющих сопротивления потоку жидкости н уменьшения длительности наполнения:
(9)
=
. (10)
2 этап. Оптимизация процесса сжатия ГГК (гидравлического гасителя колебаний).
2.1. Неустановившееся движение жидкости в гидравлическом гасителе по уравнению Бернулли [4,5,6,7] в процессе дросселирования зависит
от следующих параметров: плотности жидкости ρ и коэффициента расхода средней по сечению потока скорости жидкости, коэффициента неравномерности распределения скоростей в дроссельном канале н зазорах, коэффициента сопротивления трению на прямолинейном участке i-го канала длиной
и диаметром
, коэффициента i-го местного сопротивления, при котором меняется скорость по величине и направлению:
(11)
где
,
, α
2.2. Основные потери дросселируемой жидкости возникают при внезапном расширении потока от сечения дроссельного канала и неплотностей fi до эффективной площади поршня Fa , которые пропорциональны квадрату скорости и истечения.
3 этап. Расчет интенсивности износа лимитирующей пары трения и межремонтного пробега ГГК. Определение межремонтного пробега гидравлического гасителя (рисунок 1 [1]) производится по износу сопрягаемых пар, а именно зависимость износа штока
и направляющей
от срока эксплуатации гидравлического гасителя колебаний, при этом
. (12)
Расчет интенсивности износа лимитирующей пары трения и межремонтного пробега гидравлического гасителя колебаний осуществляют по следующим формулам
мм/мес; (13)
мес. (14)
4 этап. Расчет линеаризованного параметра сопротивления ГГК. Линеаризованный параметр сопротивления ГГК должен находится в пределах
кН с/м . В зависимости от сечения неплотностей
, (15)
где
кН с/м . В зависимости от вида ремонта
кН с/м . Изменение
от сечения дроссельного канала и неплотностей определяется по формуле
, (16)
где
, а
– сечение дросселя и неплотностей.
Заводские допуски на лимитирующую пару дают перепад параметра сопротивления
, рациональные -
, а при деповском ремонте
. Допустимое в эксплуатации снижение параметра от наибольшего значения приурочивают к очередному ремонту.
, (17)
5 этап. Определение межремонтного периода ГГК по износу сопрягаемых пар.
Межремонтный период
определяют средней интенсивностью снижения параметра
на единицу пробега. Для увеличения пробега межремонтного периода целесообразно устанавливать уплотнительные кольца в направляющие или регулировать сечение дроссельного канала при контроле гидравлического гасителя колебаний в эксплуатации.
6 этап. Определение ресурса гидравлического гасителя колебаний. Ресурс гидравлического гасителя колебаний определяют по износу лимитирующей трущейся пары. При отсутствии уплотнительного кольца в направляющей такой пары является шток - направляющая. Ресурс равен отношению допустимого в эксплуатации суммарного увеличения зазора
к интенсивности износа в единицу времени
, т.е.
.
Данный алгоритм исследования рациональных параметров гидравлического гасителя колебаний основан на детализированном анализе процессов наполнения, сжатия и дросселирования рабочей жидкости. Разработанная модель учитывает основные факторы, влияющие на демпфирующую способность гасителя, включая гидродинамическое сопротивление каналов, перепады давления, кавитационные эффекты и износ контактных пар.
Заключение. Таким образом, предложенный алгоритм позволяет повысить эффективность гидравлических гасителей колебаний за счет оптимального подбора параметров дросселирования, выбора рациональных размеров каналов и материалов пар трения, а также разработанная методика инженерного расчета с подбором их рациональных параметров на базе теоретических, экспериментальных и опытно-конструкторских разработок авторов позволяет оптимизировать процесс проектирования и расчета [8].
Список литературы:
- Хромова Г.А., Байманов Б.А., Махбубов А.Р., Мухамедова З.Г. Гидравлический гаситель колебаний. Патент Республики Узбекистан на изобретение № IAP 05463, опубл. 29.09.2017 г., Бюл. № 9.
- Манашкин Л., Мямлин С., Приходько В. Гасители колебаний и амортизаторы ударов рельсовых экипажей (математические модели): Монография: Днепропетровский национальный университет железнодорожного транспорта имени академика В. Лазаряна, Днепропетровск: 2007.-196 с.
- Соколов М.М., Варава В.И., Левит Г.М., Гасители колебаний подвижного состава. Справочник. М.: Транспорт, 1985. - 216 с.
- Савоськин А.Н., Сердобинцев Е.В., Званцев П.Н. Гидравлические гасители колебаний:Учебное пособие по специальности 190303 «Электрический транспорт железных дорог» .- М.: МИИТ, 2009.-54 с.
- Челноков И.И. Гидравлические гасители колебаний пассажирских вагонов. М.: Транспорт, 1975.- 73 с.
- Гидравлические гасители колебаний пассажирских вагонов: учеб. Справочник. / Н.С. Бачурин, А.А. Красниченко, М.В. Переяслов.- Екатеринбург: Изд-во Уральский государственный университет путей сообщения (УрГУПС), 2013.- 38 с.
- Высокоскоростной железнодорожный транспорт. Общий курс: учеб. пособие: в 2 т./ И.П. Киселёв м др.; под ред. И.П. Киселёва.-М.: ФГБОУ «Учебно-методический центр по образованию на железнодорожном транспорте», 2014. Т.2.-372 с.
- Khromova G., Makhamadalieva M. Разработка математической модели по обоснованию рациональных параметров рессорного подвешивания высокоскоростного электропоезда Afrosiab. // Universum: Technical sciences, 2022, № 10 (103), октябрь 2022, часть 2, С. 62–66.