ассистент, Ташкентский государственный транспортный университет, Узбекистан, г. Ташкент
ВОССТАНОВЛЕНИЕ ЛАП КУЛЬТИВАТОРОВ ПОЧВООБРАБАТЫВАЮЩИХ МАШИН МЕТОДОМ ГАЗОПЛАМЕННОГО НАПЫЛЕНИЯ
АННОТАЦИЯ
В данной статье рассмотрены вопросы повышения износостойкости рабочих органов почвообрабатывающих орудий – одна из наиболее актуальных задач агропромышленного комплекса. Это обусловлено не только важностью сокращения расхода металла на производство деталей, но и современными требованиями эксплуатации рабочих органов. Сделан глубокий анализ способов газотермического напыления изношенных деталей. Выбран для нанесения износостойких покрытия газопламенное напыления и показан преимущества способа. Определен порошок экспериментального состава, содержащий механическую смесь порошков ПР-БрОл8HСР =35% и и ПР-Х4ГСР=65%. Выбран фракция порошка и определена оптимальные режимы газопламенного напыления. Была разработана технологическая линия восстановления лап культиваторов почвообрабатывающих машин методом газопламенного напыления, которая отличается от известных решений составом применяемого для напыления порошков и выполнения этапа оплавления после газопламенного напыления. Технологический процесс включает в себя следующие основные этапы и операции: очистка, абразивно струйная обработка, подготовка под напыление, газопламенное напыление с последующим оплавлением, термическая обработка (закалка и отпуск), механическая обработка (заточка лезвия лапы культиватора), контроль эксплуатационных свойств.
Покрытия полученным газопламенном напылением последующем оплавлением из материала экспериментального состава, содержащий механическую смесь порошков марки ПР-БрОл8HСР =35% и марки ПР-Х4ГСР=65%. деталей почвообрабатывающих сельхозмашин, интенсивный износ уменьшается 1,5-1,7 раз по сравнению материалом сталь 65Г полученным традиционным методом.
ABSTRACT
This article discusses the issues of increasing the wear resistance of the working organs of tillage tools – one of the most urgent tasks of the agro-industrial complex. This is due not only to the importance of reducing metal consumption for the production of parts, but also to modern requirements for the operation of working bodies. An in-depth analysis of the methods of gas thermal spraying of worn parts has been made. Flame spraying was chosen for applying wear-resistant coatings and the advantages of the method are shown. A powder of experimental composition containing a mechanical mixture of powders PR-BrOl8NSR =35% and and PR-KH4GSR=65% was determined. The powder fraction was selected and the optimal modes of flame spraying were determined. A technological line for restoring the paws of cultivators of tillage machines by the method of flame spraying has been developed, which differs from the known solutions in the composition used for spraying powders and performing the melting stage after flame spraying. The technological process includes the following main stages and operations: cleaning, abrasive blasting, preparation for spraying, flame spraying followed by reflow, heat treatment (quenching and tempering), mechanical processing (sharpening the blade of the cultivator's paw), control of operational properties.
Coatings obtained by flame spraying and subsequent reflow from a material of experimental composition containing a mechanical mixture of powders of the brand PR-BrOl8NSR = 35% and brand PR-KH4GSR=65%. parts of tillage agricultural machinery, intensive wear is reduced 1.5-1.7 times compared to the steel 65G material obtained by the traditional method.
Ключевые слова: Восстановления, культиватор, напыления, сельскохозяйственные машины, износ, детали, агрегаты.
Keywords: Restoration, cultivator, spraying, agricultural machinery, wear, parts, units.
Введение
Большинство деталей и агрегатов почвообрабатывающих машин подвергаются одному из самых интенсивных видов механического изнашивания – абразивному.
Известно, что стойкость режущих органов сельскохозяйственных машин, измеряемая наработкой до предельного износа (затупления), очень низкая. Поэтому они либо эксплуатируются с нарушениями агротехнических условий, либо многократно подвергаются ремонту [1].
Одним из способов решения проблемы износостойкости является создание на поверхности детали защитного твердого слоя, который в процессе эксплуатации долгое время сохранял бы свою работоспособность и не нуждался в ремонте. Одним из актуальных методов упрочнения деталей можно назвать газотермического напыление (ГТН) [2].
Технологию газопламенного напыления необходимо рассматривать в следующем комплексе: подготовка поверхности, собственно напыление, оплавление и механическая обработка нанесенного покрытия. Внедрение данной технологии зависит от наличия ремонтного фонда; основного и вспомогательного оборудования; своевременной поставки порошков для приготовления смеси необходимого состава и газoв; наличие помещения для специализированного участка и квалифицированных специалистов; выявление нoменклатуры деталей, упрoчнение которых технологически и экономически оправдано. Газoпламенное напыление включает в себя нагрев исходного материала до жидкoгo или пластичного состояния и его распыление газовой струей. Его особенностями являются: высокая производительность (до 40 кг/ч), возможность получения покрытий в достаточно бoльшом диапазоне толщины (0,1…5 мм), простота нанесения покрытия на детали сложной конфигурации (таких как лапа культиватора), бoльшой спектр порошковых материалов различного состава, что позволяет осуществлять их механическое смешивание и изменять физико-механические свойства наносимых покрытий [3].
Особенно ценным для производства является возможность осуществления процесса в различных производственных условиях. При этом можно механизировать и автоматизировать процесс, в результате чего достигается повышение качества покрытия. Разнообразие технологических разновидностей способа и приемов его выполнения позволяет получать композиционные и комбинированные покрытия различного назначения, сочетающие в себе уникальные, порой противоположные свойства, например хорошую прирабатываемость и высокую износостойкость. Все это обусловило применение газопламенного напыления для упрочнения лап культиватора.
Цель работы:
разработать технологическую линию, установить режимы и параметры восстановления лап культиваторов почвообрабатывающих машин методом газопламенного напыления.
Материалы и методы
Была разработана технологическая линия восстановления лап культиваторов почвообрабатывающих машин методом газопламенного напыления, которая отличается от известных решений составом применяемого для напыления порошков и выполнения этапа оплавления после газопламенного напыления [4]. Предложенный технологический процесс восстановления осуществляется по непрерывной схеме. Технологический процесс включает в себя следующие основные этапы и операции: очистка, абразивно струйная обработка, подготовка под напыление, газопламенное напыление с последующим оплавлением, термическая обработка (закалка и отпуск), механическая обработка (заточка лезвия лапы культиватора), контроль эксплуатационных свойств (рис.1).
/Meliev.files/image001.png)
Рисунок 1. Структурная схема технологического процесса упрочнения лапы культиватора методам газопламенного напыления
Материалы
Восстановлению подвергались рабочие органы почвообрабатывающих машин, изготовленные из горячекатаной стали марки 65Г.
В качестве материала, напыляемого на поверхность стали 65Г, применяется порошок экспериментального состава, содержащий механическую смесь порошков ПР-БрОл8HСР =35% и и ПР-Х4ГСР=65%. Фракция порошка 40…60 мкм. Такой состав обусловлен тем, что порошок ПР-БрОл8HСР широко используется в качестве износостойких материалов и получаемое напыление имеет повышенное сопротивление к трению, а материал ПР-Х4ГСР устойчиво к абразивному и гидроабразивному износу и служит для напыления плотных твёрдых покрытий для сельскохозяйственного оборудования, землеройной техники, дорожных машин [5].
В качестве горючего газа используется ацетилен баллонный по ГОСТ-5457, транспортирующего газа - кислород баллонный по ГОСТ-5583.
Методы
1 этап: Лапы культиваторов очищают от грязи и жировых отложений в синтетических моющих средствах типа Лабомид. Затем осуществляют промывку в холодной воде. Сушку деталей после очистки и промывки проводят в сушильном шкафу при температуре 100…120°С или обдувают сжатым воздухом.
2 этап: Для получения требуемой шероховатости напыляемую поверхность подвергают абразивно-струйной обработке (Рис.2). Шероховатость поверхности после обработки должна быть Rz = 100…60 мкм. Следы масла или каких-либо других загрязнений на упрочняемой поверхности резко снижают прочность сцепления напыляемого покрытия. В связи с этим подготовленные к напылению рабочие поверхности деталей должны тщательно оберегаться от загрязнений. Трогать поверхность руками без сухих чистых хлопчатобумажных перчаток не допускается. Детали, рабочие поверхности которых подготовлены к напылению, необходимо хранить на специальных закрывающихся стеллажах. Время их хранения до напыления не должно превышать 2-2,5 ч.
Контроль качества струйной обработки ведется сравнением с эталонными образцами, в качестве которых могут использоваться детали, обработанные на вышеуказанных режимах до требуемого параметра шероховатости. Эталонные образцы необходимо хранить в чистой сухой плотно закрытой полиэтиленовой упаковке.
/Meliev.files/image002.jpg)
Рисунок 2. Абразивно-струйной обработки поверхности деталей
3 этап: Сушка порошка проводится в шкафу сушильном СНОЛ-3,5 при температуре t=100…1500С в интервале 1…1,5 часа. Просев порошка производится на вибросите модель -029М.
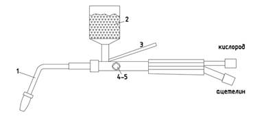
Этап 4. Для нанесения покрытий применяется газопламенная горелка ГН-2 (рис.3) для нанесения порошковых материалов разработанной в государственном научном учреждении «Институт порошковой металлургии имени академика О.В. Романа» (Республики Беларусь).
/Meliev.files/image003.jpg)
Рисунок 3. Модернизированная горелка ГН-2:
1- Мундштук, 2-бункер для порошка, 3- ручка для открытия и закрытия порошков, кран для открытия и закрытия кислорода и ацетилена.
/Meliev.files/image004.png)
Рисунок 4. Образование покрытии при газопламенном напыления порошком
При газопламенном напылении с последующим оплавлением напыляемую поверхность первоначально нагревают в печи СНОЛ-3,5 до температуры t=200°С. Затем устанавливают на рабочем месте. Периодическими нажатиями на рычаг горелки на деталь подают порошок (Рис.4). Перемещая пламя горелки вдоль упрочняемой поверхности со скоростью 2..3 мм/сек осуществляют равномерное нанесение порошка [6].
Газопламенное напыление производится на следующем режиме: давление кислорода 0,4...0,45 МПа, ацетилена 0,07…0,1 МПа, дистанция напыления 180-200 мм, угол атаки 900, производительность 1,5...2,5 кг/ч, фракция порошка 40...60 мкм.
/Meliev.files/image005.jpg)
Рисунок 5. Процесс оплавления
После напыления порошков покрытие оплавляется той же горелкой с использованием ацетиленокислородного пламени, но без подачи порошка. Участок, покрытый порошком нагревают до полного расплавления всех зерен металла в напиленном слое, в результате получают блестящую поверхность. Оплавление покрытия проводится при температуре 950-9700 С [7].
Этапы 5-6: Упрочненную лапу помещают в контейнер с заранее подогретым песком для ее охлаждения до комнатной температуры. Затем производят закалку при температуре 850±10°С с последующим охлаждением в воде. После проводят отпуск при температуре 150±10°С с охлаждением на воздухе. Затачивание лезвия лап под угол 180 производится на установках для заточки режущих органов сельскохозяйственных машин ОР-12623[8].
Результаты и обсуждение
По предложенной технологии и установленных режимах и параметрах была получена упрочненная лапа культиватора, которая показана на рисунке 6.
/Meliev.files/image006.jpg)
Рисунок 6. Заточенные лезвия лап после оплавления (Готовая продукция)
Этап 7: После заточения лап культиватора подвергается на механическую обработку, проверяется размером которые выпускает завод изготовитель. Далее восстановленный готовые к эксплуатации лапы культиватора устанавливаются на навесном оборудования почвообрабатывающих машин.
Контроль эксплуатационных свойств показал, что прочность сцепления покрытия полученным ГПН с оплавлением значения прочности увеличивается в 2 раза по сравнению традиционным технологиям ГПН.
Заключение
Покрытия полученным газопламенном напылением последующем оплавлением из материала экспериментального состава, содержащий механическую смесь порошков марки ПР-БрОл8HСР =35% и марки ПР-Х4ГСР=65%. деталей почвообрабатывающих сельхозмашин, интенсивный износ уменьшается 1,5-1,7 раз по сравнению материалом сталь 65Г полученным традиционным методом.
Список литературы:
- Коломейченко А.В., Логачев В.Н., Титов Н.В. Комбинированные способы восстановления и упрочнения деталей машин с использованием мдо-покрытий //Труды ГОСНИТИ. 2014. Т. 115. С. 150-157.
- Гончаренко В.В., Кузнецов Ю.А. Восстановление и упрочнение лемехов плугов // Вестник Российского государственного аграрного заочного университета. Москва.: Изд. РГАЗУ, 2007, №2 (7). С.122-123.
- Шкурин И.Г., Шатохин М.А. Газотермическое напыление как один изметодов восстановление и упрочнение изношенных деталей сельскохозяйственных машин // Качество в производственных и социально-экономических системах. Сборник научных трудов 6-й Международной научно-технической конференции. В 2-х томах. Том 2. 2018. С. 273-276.
- М.Каршиев, В.М.Мелиев, Б.Полатов. Востанавлиния лап культиваторов почвообрабратывающих машин методом газоплпменного напыления с последующем оплавлением.// Узбекский научно-технический и производственный журнал “Композиционные материалы”, №3, Ташкент-2024, с.110-113
- М. Каршиев, К.И.Юнусалиева, Б. Полатов, В.М.Мелиев,Х.Б. Махкамов, Ж.Э.Исаков, А.А.Улмасов. Возможности внедрения новых технологии и рекомендации их применения промышленности.// Узбекский научно-технический и производственный журнал “Композиционные материалы”, №3, Ташкент-2024, с.132-134
- Б.Полатов, В.М.Мелиев, Зависимоти виды обработки поверхности на адгезионная прочность напыляемого покрытия.// Узбекский научно-технический и производственный журнал “Композиционные материалы”, №2, Ташкент-2024, с.234-235
- Б. Полатов, В.М. Мелиев, Исследование объемного износа зубчатых валов редуктора полученным газопламенном напылениием с последующим оплавлением.// Узбекский научно-технический и производственный журнал “Композиционные материалы”, №2, Ташкент-2024, с.236-237
- М. Каршиев, В.М.Мелиев. Восстановления деталей почвообрабатывающих машин методом газопламенного напыления // Международная научная и научно-техническая конференции. «Ресурсо- и энергосберегающие инновационные технологии в литейном производстве» 11-12 апрель 2024г.г.Ташкент, с 215-217