Doctoral student, Namangan Institute of Engineering and Technology, Uzbekistan, Namangan
EXTRACTION OF MANGANESE WITH SULFURIC ACID SOLUTIONS FROM MANGANESE-CONTAINING SLAGS
ABSTRACT
The developed methods of using microelements by means of fertilizer mixing are not effective from the agrochemical point of view, since microelements are distributed unevenly in the soil, being in a water-soluble form are washed out by irrigation water, polluting water bodies. In this regard, it is necessary to conduct deep physicochemical studies of the behavior of microelements in complex systems containing components of mineral fertilizers, to expand fundamental and applied research on the production of new types of fertilizers with microelements. For this purpose, work was carried out to determine the optimal conditions for extracting manganese from manganese-containing slag with sulfuric acid solutions and it was found that by introducing various amounts of sodium sulfite and oxalic acid into the reaction mixture, it is possible to increase the amount of manganese extracted from manganese ore slag. When sodium sulfite is added to sulfuric acid from 1.8 to 4.3%, the degree of manganese extraction increases from 54.1 to 69.9.
АННОТАЦИЯ
Разработанные способы использования микроэлементов путем тукосмешения не эффективны с агрохимической точки зрения, так как микроэлементы распределяются в почве неравномерно, находясь в водорастворимой форме вымываются поливной водой, загрязняя водоемы. В связи с этим необходимы глубокие физико-химические исследования поведения микроэлементов в сложных системах, содержащих компоненты минеральных удобрений, расширить фундаментальные и прикладные исследования по производству новых видов удобрений с микроэлементами. Для этого была проведена работа по определению оптимальных условий извлечения марганца из марганецсодержащего шлака растворами серной кислоты и установлено, что путем введения в реакционную смесь различных количеств сульфита натрия и щавелевой кислоты можно увеличить количество извлекаемого марганца из шлака марганцевой руды. При добавлении сульфита натрия к серной кислоте от 1,8 до 4,3% степень извлечения марганца увеличивается от 54,1 до 69,9.
Keywords: Waste slag, metallurgy, caprolactam, sulfuric acid, extraction phosphoric acid, sodium sulfite, oxalic acid, manganese.
Ключевые слова: Отвальные шлаки, металлургия, капролактам, серная кислота, экстракционная фосфорная кислота, сульфит натрия, щавелевая кислота, марганец.
Introduction.
Due to the growth of population and reduction of cultivated areas, there is an increasing need for the development and scientific substantiation of measures to improve soil fertility, quality and quantity of agricultural crops. [1]. There is currently great interest in measures to improve the quality of agricultural products and provide them with the nutrients necessary for human health. [2].
Despite the fact that microelements are used by plants in small quantities, an increase in the yield and quality of agricultural products is noted [3]. Each microelement plays a specific role in the metabolism of plants, animals and humans, and their deficiency cannot be compensated for by replacing other elements [4].
All the elements involved in the mineral nutrition of plants are usually classified according to their content in plants and in the soil.
They are usually divided into macronutrients and micronutrients. According to this classification, elements whose content in terms of dry matter ranges from hundredths of a percent to several tens of percent are macronutrients. Those elements whose content does not exceed thousandths of a percent are classified as trace elements.
Microelements are involved in all processes of plant growth and development and affect the quality and size of the crop [5]. Most of them are active catalysts that accelerate a number of biochemical reactions and are essential components of many enzymes. Seed treatment with microelements triggers metabolic processes in the grain that facilitate the implementation of crop properties from the early stages of development [6]. In addition, microelements increase the resistance of plants to unfavorable environmental conditions and increase their immunity against bacterial and fungal diseases [7].
If we adhere to the updated classification, then macronutrients include nitrogen, phosphorus and potassium, mesoelements – sulfur, calcium, magnesium, trace elements – boron, molybdenum, zinc, copper, cobalt, manganese, barium, silicon, chlorine, sodium, titanium, silver, vanadium, iron, nickel, selenium, lithium, iodine, aluminum.
Trace elements are distributed in the Earth's crust in concentrations not exceeding 0.1%, and in living matter they are found in quantities of 10-3 – 10-12 %. The group of trace elements includes metals, non-metals, and halogens. Their only common feature is their low content in plant fruits and living tissues.
Of the listed trace elements, manganese (Mn) has an important role in the development of plant growth and development, manganese has the ability to accumulate in leaves and growth points with the greatest physiological activity. Manganese is directly involved in the vital activity of all plant species.
In the absence of manganese, chlorophyll rapidly degrades in light.
The main source of manganese for fertilizer production is manganese oxide ores of sedimentary origin. Manganese ores are divided into three classes depending on the content of the main substance and iron in them: manganese ores contain more than 40% manganese and less than 10% iron.; [8]
Ferromanganese - 5-40% manganese and 10-35% iron; manganese iron - no more than 5% manganese. For the production of fertilizers, carbonate manganese ores or industrial waste products that have passed the reduction firing stage and contain manganese in the form of MnO [9] are used.
The accumulation of industrial waste in dumps near mines and enterprises poses a threat of contamination of the surrounding area not only with elements toxic to flora and fauna, but also beneficial to plants in excess quantities. Using such waste in reasonable doses as sources of raw materials and fertilizers on agricultural land will not only save nature, but also provide additional agricultural products.
Numerous authors have studied the possibilities of using industrial waste in the production of trace element-containing fertilizers.
In solving environmental issues and the problem of shortage of mineral raw materials, it is promising to involve non-ferrous metallurgy waste in the development, in particular landfill manganese slags.
Associated beneficial components, harmful impurities and slag-forming components are usually determined by group samples. The procedure for combining ordinary samples into group samples, their placement and total quantity should ensure uniform testing of the main types of ores for associated components, harmful impurities and slag-forming components and the clarification of patterns of changes in their contents along the strike and fall of ore bodies.
Manganese ores from deposits known in Uzbekistan belong to poor ores, the issue of industrial use of which depends entirely on the possibility of their enrichment with techniques available to modern processing technology. Based on the physical properties and chemical composition of these ores with a manganese content of 22.4% (after enrichment), a concentrate with a content of 39.9% can be obtained.
Sulfuric acid leaching is the main operation of most schemes of hydrometallurgical processing of manganese-containing raw materials.
Hydrogen peroxide, metallic iron, pyrite concentrate, sulfur dioxide, and sulfite-bisulfite solutions are used as reducing agents. The determining factors of the leaching process are: temperature, duration of the process, amount of pyrite added, concentration of sulfuric acid [10].
Currently, a number of methods have been proposed that differ both in the chemistry of the process and in its hardware design. From a chemical point of view and from the point of view of the implementation of the process itself, leaching with sulfuric acid is the most favorable. When manganese is leached from oxide manganese-containing materials with sulfuric acid alone, the extraction of manganese into solution is no more than 40%, since sulfuric acid does not allow the transfer of manganese from higher oxides into solution.
There is a method for extracting manganese that relates to the field of hydrometallurgy, in particular to methods for extracting manganese from manganese-containing materials containing carbonates and manganese oxides (Mn2+ and Mn3+).
A method for processing manganese oxide materials containing ferrous manganese oxides includes leaching crushed raw materials with an aqueous solution of sulfuric acid in the presence of ferrous sulfate, filtration, precipitation of iron followed by release of manganese from the production solution. In this case, leaching is carried out with the addition of reducing agent in the form of metallic iron or ferrous sulfate (Fe2+) at a temperature of 60-95°C, duration 60-300 min. Leaching is carried out at an initial concentration of H2SO4 in the leaching solution up to 100g/dm3 and the final acidity in the production solution according to the hydrogen index pH <2. The technical result is an increase in the extraction of manganese into solution from processed raw materials due to the development of hydrometallurgical processing modes.
Various methods of leaching manganese and its salts from ores have been developed: leaching with sulfuric acid in the presence of reducing agents of sodium sulfite in a mixture with a ratio of Na2SO3 :H2SO4 1.1-1.38:1 , in a stream of sulfurous anhydride or a mixture of sulfuric and sulfuric acids or sulfuric acid, metallic iron or a solution containing sulfite ion . There is a known method for extracting manganese from manganese oxide ore, which consists in firing with sodium hydrosulfate and subsequent leaching with water .
A method is proposed for obtaining manganese salts from carbonate manganese ore from the Ulu - Telyak deposit followed by electrolysis. In this regard, a method has been developed for the enrichment of manganese ore with preliminary calcination with sodium hydrosulfate and subsequent leaching of manganese salts with water.
Unlike the conditioned manganese salts currently used, industrial manganese waste contains it in a water-insoluble form. For the purpose of their use, their introduction into the process at the initial stage of superphosphate production - dissolution in initial sulfuric acid (in contrast to manganese salts introduced mainly at the product granulation stage) has been studied .
In, studies were conducted to refine the technology for obtaining and investigating the properties of manganese superphosphate using manganese-containing sludge waste from the Rustavi Chemical Plant and slag from the production of metallic manganese as a source of manganese.
It is proposed to leach sulfuric acid with a concentration of 14-18% H2SO4 in order to obtain a water-soluble form of manganese compounds at the first stage of the process. At 60° C and 80° C and an acid norm of 80 and 110 (based on manganese and calcium silicate), the degree of transition of manganese into solution is 85-87%, and the concentration of manganese in the solution is 1.8%. At the same time when a mixture of sludge and apatite interacts with sulfuric acid, the degree of manganese leaching is 70-74%. It has been shown that the most rational method for obtaining manganese superphosphate is the preliminary preparation of manganese sludge by treating it with sulfuric acid and then introducing the resulting solution into the superphosphate production process. The content of water-soluble manganese compounds in the finished product is 1.36-2.05% and the degree of leaching of manganese exceeds 98%, the degree of decomposition of apatite in the finished product is 95%.
Scientists of the A.B. Bekturov Institute of Chemical Sciences have proposed a method for obtaining manganese-containing phosphorus fertilizer , which differs from the known ones by using manganese-containing sludge from a metallurgical enterprise as a source of manganese. The method consists in decomposing a mixture of phosphate raw materials and manganese-containing sludge for 90 minutes with 68% sulfuric acid in the ratio phosphate raw materials: sludge: H2SO4 equal to 1 : (0,20-0,25) : (0,65-0,75) at 95° C with further drying and granulation of the finished product. This allows you to increase the amount of nutrients (P2O5citr., General, Water-based) and reduce the caking ability of the finished product (moisture and P2O5COB) as a result of a high degree of decomposition of the raw material mixture. In addition, the amount of nutrients increases due to the content of potassium in the finished product, which is part of the manganese-containing sludge .
The aim of the study is to extract manganese from industrial waste - slag from metallurgical production.
Methods.
In order to identify the possibility of using metallurgical production waste - phosphate - slag containing (mass., %) CaO - 48.2, P2O5 - 8.2, MnO2 - 5.5 for the production of manganized fertilizers, studies were conducted on the extraction of manganese with sulfuric acid solutions depending on the S:L ratio, temperature, sulfuric acid concentration and duration of the process.
The effect of sulfuric acid concentration on the degree of manganese extraction was studied at T:W = 1:10, stirring duration 30 minutes and temperature 80-85°C.
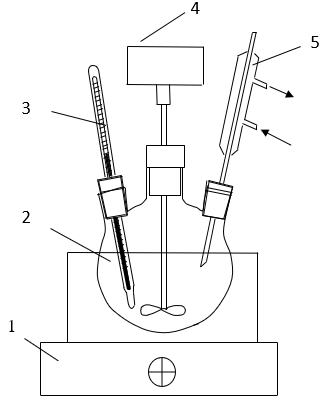
Research on the extraction of manganese from industrial waste and ore was carried out in a glass reactor equipped with a paddle stirrer and placed in a thermostatted container.
/Isakova.files/1.png)
Figure 1. Laboratory setup diagram. 1-Electric hotplate; 2-glass reactor; 3-mercury thermometer; 4-mechanical stirrer; 5-reflux condenser.
Results.
The effect of sulfuric acid concentration on manganese extraction was studied
at T:W=1:10, stirring time of 30 minutes and temperature of 80-85°C. With an increase in the concentration of acids from 5 to 15%, the degree of transition of manganese into solution increases. At a concentration of 5%, the recovery is 8.5%, whereas at 10 and 15% it increases to 10.1 and 10.5%. A further increase in the concentration of sulfuric acid to 20, 30, 66, 75, and 93% reduces the degree of manganese transition from 10.5% to 8.7, 4.5, 3.9, 3.6, and 1.4% (Table 1, Fig. 1).
/Isakova.files/image003.jpg)
Figure 2. Influence of sulfuric acid concentration on the degree of manganese extraction from sludge
The effect of temperature on manganese extraction of 15% sulfuric acid was studied at T:W=1:10, duration 30 min. With increasing temperature from 20 to 85°Extraction increases from 5.8 to 10.5% (Table 1, Fig.2).
/Isakova.files/image004.jpg)
Figure 3. The effect of temperature on the extraction of manganese from sludge with sulfuric acid solutions
To increase the extraction of manganese into solutions of sulfuric acid and extraction phosphoric acid, it was proposed to use sodium sulfite and oxalic acid.
Table 1.
Extraction of manganese from sludge with sulfuric acid solutions at 85 ° C, the duration of the process is 30 minutes
|
N |
Factors |
Exstraction, Мn,% |
Conditions for the expriment |
|
Effect of sulfuric acid consentration |
|||
|
1. |
5 |
8,5 |
H:L=1:10 |
|
2. |
10 |
10,1 |
|
|
3. |
15 |
10,5 |
|
|
4. |
20 |
8,7 |
|
|
5. |
30 |
4,5 |
|
|
6. |
66 |
3,9 |
|
|
7. |
75 |
3,6 |
|
|
8. |
93 |
1,4 |
|
|
Effect of temperature, °С |
|||
|
9. |
20 |
5,8 |
Consentration acid 15% H:L=1:10 |
|
10. |
40 |
6,5 |
|
|
11. |
60 |
7,89 |
|
|
12. |
85 |
10,5 |
|
|
Effect of sodium sulfide consentration |
|||
|
13. |
- |
10,5 |
Consentration acid 15% H:L=1:10 |
|
14. |
1,8 |
54,1 |
|
|
15. |
2,6 |
63,5 |
|
|
16. |
4,3 |
69,9 |
|
|
17. |
- |
1,4 |
Consentration acid 93% H:L=1:10 |
|
18. |
1,8 |
6,76 |
|
|
19. |
2,6 |
7,73 |
|
|
20. |
4,3 |
8,3 |
|
At the same time, it was assumed that oxalic acid (Eo systems MnO2+2 H2S2O4 - 0.49V) will reduce manganese dioxide (Eo systems MnO2+2N+/Mn2+2H2O + 1.23B) by reaction:
МnO2+Н2С2O4+Н2SO4=МnSO4+2СO2+2Н2O
/Isakova.files/image005.jpg)
Figure 4. Effect of sodium sulfite concentration on manganese extraction from sludge with sulfuric acid solutions at 85 °C, process duration 30 min.: 1- acid concentration of 15% H:L=1:10;
2- acid concentration of 93% H:L=1:10
The effect of the concentration of sodium sulfite on the extraction of manganese from sludge with solutions of 15% sulfuric acid at H:L=1:10, duration 30 minutes, temperature 80-85 °C. was also studied. With an increase in the concentration of sodium sulfite from 1.8 to 4.3%, the degree of manganese extraction increases from 10.5 to 69.9% (Table.1. Fig.3.) [11].
Discussion.
Thus, by introducing various amounts of sodium sulfate and oxalic acid into the reaction mixture, it is possible to increase the amount of manganese extracted into sulfuric acid from manganese ore slag. When sodium sulfite is added from 1.8 to 4.3%, the degree of manganese extraction increases from 54.1 to 69.9%. Optimal conditions for sulfuric acid leaching of manganese from slag are: acid concentration of 15%, time of 30 minutes, temperature 80-85 ° C, reducing agent concentration not lower than 4.3%.
References:
- Bagci S. A. et al. Effects of zinc deficiency and drought on grain yield of field‐grown wheat cultivars in Central Anatolia //Journal of Agronomy and Crop Science. – 2007. – Т. 193. – №. 3. – С. 198-206. https://doi.org/10.1111/j.1439-037X.2007.00256.x
- Wang Z. H., Li S. X., Malhi S. Effects of fertilization and other agronomic measures on nutritional quality of crops //Journal of the Science of Food and Agriculture. – 2008. – Т. 88. – №. 1. – С. 7-23. https://doi.org/10.1002/jsfa.3084
- Tavakoli M. T. et al. The importance of micronutrients in agricultural production //Advances in Environmental Biology. – 2014. – С. 31-36.
- 6. Shukla A. K. et al. Micronutrients in soils, plants, animals and humans //Indian Journal of Fertilisers. – 2018. – Т. 14. – №. 3. – С. 30-54.
- Microelements in agriculture / edited by S.Yu. Bulygin. Dnipropetrovsk: "Sich", 2007. 100 p.
- Pronina L.N. Response of spring wheat to application of macro- and microfertilizers in the conditions of the south of the Non-Chernozem zone // Achievements of science and technology of the agro-industrial complex. No. 7. 2011. P. 31–34
- Ageev V.V., Podkolzin A.I. Fertilizer systems in crop rotations in the south of Russia: a textbook for students of agronomic specialties. Stavropol: State Educational Institution Stavropol State Agricultural University, 2001. 352 p.
- Samotenko A.S. The influence of microelements and sulfur on the yield and quality of winter wheat in typical and ordinary chernozems of the Voronezh region: Abstract of a PhD dissertation for a PhD in agricultural sciences. Moscow, 2011. 16 p.
- Method of processing manganese ores: a.s. / Chachanidze I. P., Purtseladze H. G., Bogoyavlensky E. I., Svanidze M. I., Rakviashvili I. V. USSR No. 350850, published. 13.09.72.
- Catalog of articles. [himsnab-spb.ru/articles/fertilizer /ammophosphate_mineral_fertilizer_with_trace_elements_catalysts_of_biochemical_processes/].
- S. M. Isabaev, H. M. Kuzgibekova, E. V. Zhirnova, I. M. Zhilina, A. T. Zhamukhametova. Hydrometallurgical processing of substandard manganese-containing raw materials to produce high-quality products. Integrated use of mineral raw materials. No. 4. 2018. pp.166-171