Doctoral student (DSc) Institute of General and Inorganic Chemistry, Academy of Sciences Republic of Uzbekistan, Uzbekistan, Tashkent
CHEMICAL STUDY OF THE COAL BENEFICIATION PROCESS BY FLOTATION USING SURFACTANTS DERIVED FROM WASTE RAW MATERIALS
ABSTRACT
This article explores a flotation-based beneficiation technology for high-ash lignite coals using kerosene-derived collectors and surfactant compositions synthesized from industrial waste. Experimental results demonstrated a notable increase in the combustible fraction and a significant reduction in ash content, enhancing the coal’s calorific value. In addition, SEM, EDS, and IR spectral analyses confirmed the structural and compositional improvements achieved through flotation. The enriched product meets national fuel standards, and the residual waste showed potential for reuse as foundry coal. The flotation process improved the calorific value of lignite from 15.4–25.4 MJ/kg to 28.6–29.7 MJ/kg, confirming the effectiveness of the beneficiation scheme. The surfactant compositions developed from soapstock and KOH exhibited enhanced surface activity, contributing to more efficient separation of mineral impurities. This research presents an integrated approach that improves resource efficiency, reduces environmental impact, and enables the circular utilization of technological waste in coal processing industries.
АННОТАЦИЯ
В данной статье рассматривается технология обогащения высокозольных бурых углей методом флотации с использованием коллекторов на основе керосина и поверхностно-активных композиций, синтезированных из промышленных отходов. Экспериментальные результаты показали существенное увеличение содержания горючей фракции и значительное снижение зольности, что привело к повышению теплотворной способности угля. Проведённые анализы с использованием SEM, EDS и ИК-спектроскопии подтвердили структурные и составные улучшения, достигнутые благодаря флотации. Обогащённый продукт соответствует национальным топливным стандартам, а технологические отходы показали потенциал повторного использования в качестве литейного угля. Флотационный процесс повысил теплотворную способность бурого угля с 15,4–25,4 до 28,6–29,7 МДж/кг, что подтверждает эффективность предложенной схемы обогащения. Разработанные ПАВ-композиции на основе жирового остатка и КОН продемонстрировали повышенную поверхностную активность, способствуя более эффективному удалению минеральных примесей. Данное исследование представляет собой комплексный подход, направленный на повышение ресурсной эффективности, снижение экологического воздействия и реализацию принципов цикличной переработки отходов углеобрабатывающей промышленности.
Keywords: coal beneficiation, flotation, lignite coal, ash content, surfactant, collector, energy efficiency, waste, recycling, ecology.
Ключевые слова: обогащение угля, флотация, бурый уголь, зольность, поверхностно-активное вещество, коллектор, энергоэффективность, отходы, переработка, экология.
Introduction
Coal remains one of the primary global energy sources today, and its efficient use in industry and thermal energy production largely depends on its quality. The presence of non-combustible impurities particularly high ash content reduces the calorific value of coal and increases its environmental impact [1]. Therefore, coal beneficiation, i.e., the removal of unwanted impurities, is a pressing issue. In recent scientific research, flotation technologies have been extensively studied to address this challenge [2]. The flotation process utilizes the hydrophobic properties of coal particles to effectively separate light and heavy fractions [3].
The main objective of this study is to develop technological solutions aimed at improving the efficiency of coal beneficiation using flotation methods [4]. Factors such as the type of reagents used, the size of gas bubbles, and process parameters significantly influence the separation efficiency. The central scientific problem remains how to effectively enrich high-ash coals without compromising their energy efficiency [5].
Coal beneficiation through flotation has not only technological significance but also environmental and economic importance [6]. Flotation allows for the enrichment of high-ash coal, improving its combustion efficiency, reducing the content of harmful exhaust gases, and minimizing its negative environmental impact [7]. Therefore, implementing new reagent systems, reducing energy consumption in the process, and optimizing operational parameters are critical tasks in current scientific studies. This research is dedicated to solving these relevant and complex issues [8].
Currently, around 5 billion tons of coal are extracted globally each year, with more than 2 billion tons consisting of lignite [9]. Over 60 countries are engaged in coal mining, but approximately 90% of the extracted coal is consumed domestically, and only about 10% is exported. Major exporting countries include the United States, Australia, South Africa, Russia, and Kazakhstan. Due to its economic viability and vast reserves, coal has become the second most used fuel type globally, after oil and gas.
The purpose of this work is to develop and evaluate a flotation-based beneficiation technology for high-ash coal using surface-active agents derived from industrial waste.
To achieve the goal, the following tasks must be accomplished: Conduct a physicochemical analysis of high-ash lignite coal samples; Develop the optimal composition of surface-active agents suitable for the flotation process; Perform laboratory-scale flotation experiments using the prepared reagents; Analyze the resulting enriched product and the technological waste.
In 2022, global coal production reached 8.4 billion tons, an 8% increase compared to 2021. More than half of this amount—4.144 billion tons (50%)—was produced by China. India ranked second with 944 million tons (11%), followed by Indonesia with 687 million tons (8%), the United States with 539 million tons (6%), and Australia with 458 million tons (6%). These five countries accounted for 81% of global coal production. The remaining 19%—or 1.552 billion tons—was produced by other countries, such as Canada, which produced 47 million tons (1%) and ranked 14th. These statistics indicate that coal production is highly concentrated in a few countries, which significantly influences global energy security, trade policy, and climate negotiations (See figure 1).
Over the past 30 years, more than 80% of the world’s energy supply has relied on fossil fuels—oil, gas, and coal. However, burning coal generates a large amount of ash: for every 2 tons of coal burned, approximately 1 ton of ash is produced. This ash poses serious risks to air, water, and human health. Low-calorific, high-ash coal is considered unsuitable for industrial applications [11].
/Kucharov.files/image001.png)
Figure 1. World coal production, by country, 2022 (International Energy Agency)
Over the past 30 years, more than 80% of the world’s energy supply has relied primarily on fossil fuels—oil, gas, and coal. However, coal combustion generates a significant amount of ash: approximately 1 ton of coal ash is produced for every 2 tons of coal burned. This ash poses serious risks to air, water, and human health. Low-calorific, coal with high ash content is considered unsuitable for industrial applications [12].
Materials and methods
As the object of study, a high-ash bituminous coal sample was selected. The coal samples were initially subjected to crushing and sieving to obtain particle fractions within the 0.5–1 mm range. These fractions were specifically prepared for the flotation process, preserving the hydrophobic properties of the coal surface. Laboratory-scale flotation experiments were conducted using a mechanically agitated flotation cell. In the flotation process, kerosene-based collectors were used as the primary reagent, while a pine oil solution was applied as a frothing agent [13]. During the experiments, variables such as reagent dosage, flotation time, stirring speed, and gas bubble size were modified to evaluate their effect on separation efficiency. Each experiment was repeated three times, and the results were statistically processed to obtain average values [14].
In this study, composite surfactant materials based on sulfanol were developed to enhance surface activity (See table 1). The compositions were prepared using waste from oil and fat processing plants (soapstock) and potassium hydroxide (KOH) as the alkali. Initially, a system consisting of soap stock, KOH, and water was prepared in a reactor vessel. The fatty acids present in the soap stock were primarily in the range of C₁₂ to C₂₀, and their reaction with the alkali produced potassium soaps according to the following reaction equation:
Table 1.
Preparation of SFCM-1 Brand Surfactant Composition
|
Name of Reagent |
Target Surfactant Volume |
|||
|
5 L |
10 L |
20 L |
50 L |
|
|
Soapstock oil, L |
0.9–1.9 |
2.5–3.5 |
5.0–6.0 |
15–20 |
|
KOH, kg |
0.10–0.20 |
0.2–0.4 |
0.5–0.6 |
1.2–2.0 |
|
Water for KOH solution preparation, L |
0.10–0.20 |
0.30–0.40 |
0.4–0.6 |
2.0–3.0 |
|
Technical water for dilution, L |
3.0–4.0 |
6.0–7.0 |
12–14 |
25–30 |
In this process, the hydrocarbon radical R contains a carbon chain ranging from 12 to 20 atoms. To ensure the complete progression of the reaction, potassium hydroxide (KOH) was added at a rate of 284 g per mole of stearic acid. Since the soap stock was previously found to contain 30–75% fatty acids, the required reagent quantities were determined based on the values given in Table 3.13.
For the preparation of 50 liters of surfactant, a reactor with a minimum capacity of 70 liters was used. In this setup, 1.6 kg of KOH was dissolved in 2 liters of water and allowed to fully dissolve at room temperature over a period of 6 hours. Then, 18 liters of soap stock were added to the mixture. Due to the variable fatty acid content in soap stock, a compositional chemical analysis was performed prior to each preparation to adjust the amount of KOH accordingly. The reaction mixture was stirred at a speed of 90–120 rpm for 2 hours, followed by storage at a temperature of 15–40 °C for 5–7 days to ensure complete reaction.
|
|
|
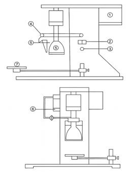
Figure 2. Laboratory flotation apparatus
1 – Motor, 2 – Control buttons, 3 – Stirring speed regulator, 4 – Froth scraper, 5 – Flotation cell, 6 – Stirrer, 7 – Plate support, 8 – Flow meter
The ash content, yield efficiency, and recovery rate of combustible components were defined as the main evaluation criteria for the coal products. The ash content was determined using the gravimetric method and compared with the quality indicators of the final flotation concentrate (See figure 2).
Results and discussion
The technological scheme was developed for the beneficiation and processing of low-quality coal. Initially, the raw material—low-grade lignite (1)—is separated from large impurities using a vibrating screen (2), followed by size reduction through a crusher (3). The material is then subjected to gravity separation in a gravitational drum (4). The flotation process (5) enables the efficient separation of the light coal fractions, with air bubbles generated by a compressor (6).
/Kucharov.files/image004.png)
Figure 3. Technological scheme of the pilot plant developed for lignite beneficiation
1 – Low-grade lignite, 2 – Vibrating screen, 3 – Crusher, 4 – Gravitational drum, 5 – Flotation reactor, 6 – Air compressor, 7 – Drying drum, 8 – Briquetting unit, 9 – Final product, 10 – Technological waste, 11 – Wastewater
After flotation, the enriched coal is dried using a drying drum (7) and compacted into briquettes using a briquetting machine (8). The final product (9) is directed for energy applications, while the solid waste (10) and wastewater (11) generated during the process are collected separately and disposed of accordingly (Figure 3).
Samples taken at three stages of the coal beneficiation process, as illustrated in Figure 1, were analyzed using SEM (Scanning Electron Microscopy) and EDS (Energy Dispersive Spectroscopy). In the raw coal sample with high ash content, carbon (63.41%) and oxygen (20.25%) were identified as the major elements, while relatively high amounts of silicon (8.2%) and aluminum (6.53%) confirmed the presence of mineral matter in the coal ash.
/Kucharov.files/image005.jpg)
Figure 4. Composition of samples from the coal beneficiation process based on SEM and EDS analysis
In the technological waste samples, the increased proportions of oxygen (30.58%) and silicon (19.83%), along with a reduced carbon content (down to 13.41%), indicate the effective separation of the combustible fraction during the beneficiation process. In the final enriched and purified coal, the carbon content increased significantly to 83.41%, while oxygen (6.15%) and silicon (4.86%) levels decreased, demonstrating the efficiency of the flotation process and the high concentration of the combustible fraction (Figure 4).
According to the IR spectral analysis presented in Figure 5, several functional groups were identified in the SFCM-2 composite material. The intense peaks in the 600–800 cm⁻¹ region indicate the presence of organometallic compounds or C–halogen bonds. Additionally, peaks observed in the 900–1200 cm⁻¹ range correspond to C–O–C ether linkages, which contribute to the enhanced surface-active properties of the composite (Figure 5).
/Kucharov.files/image006.png)
Figure 5. IR spectrum of the SFCM-2 composite material
The peaks observed in the 1400–1600 cm⁻¹ range correspond to –C≡N, N=O, R–NO₂, and C=O functional groups, indicating the presence of polar groups within the composite, which enhance its polarity. The broad peak detected in the 3200–3500 cm⁻¹ range indicates the presence of O–H groups in the compound. These hydroxyl groups contribute significantly to the hydrophilic–hydrophobic balance of the material by forming hydrogen bonds with water molecules.
According to the data presented in Table 2, the key physicochemical properties of semi-industrially beneficiated lignite coals of grades 2BR-B2 and 2BOMSH-B2 comply with the requirements of the O‘zDSt standards. Prior to beneficiation, the moisture content ranged between 20–40%, and remained stable post-treatment. However, the ash content significantly decreased from 35–60% to 20–35%. Furthermore, the proportion of volatile matter, which represents the combustible component, increased, and the high calorific value rose to 28.6–29.7 MJ/kg, clearly demonstrating the effectiveness of the beneficiation process (Table 2).
Table 2.
Main physicochemical properties of lignite coal grades 2BR-B2 and 2BOMSH-B2 before and after beneficiation
|
Property Name |
Symbol |
Unit |
Before Beneficiation |
After Beneficiation |
||
|
2BR-B2 |
2BOMSH-B2 |
2BR-B2 |
2BOMSH-B2 |
|||
|
Moisture content |
Wt |
% |
20-40 |
20-40 |
15-40 |
15-40 |
|
Ash content |
Ad |
% |
35-60 |
35-60 |
20-35 |
20-35 |
|
Particle size |
d |
mm |
1-100 |
1-100 |
Briquette |
Briquette |
|
Volatile matter yield |
V daf |
% |
32-50 |
35-45 |
44-55 |
40-55 |
|
Higher calorific value |
|
MJ/kg |
15.5-25.4 |
15.4-23.8 |
28.6 |
29.7 |
|
Lower calorific value |
|
MJ/kg |
6.9-12.8 |
8.9-13.6 |
15.9 |
15.7 |
Furthermore, the increase in lower calorific value to 15.7–15.9 MJ/kg is considered a positive indicator in terms of energy efficiency. The fact that the post-beneficiation product is formed into briquettes enhances convenience in transportation and storage. In addition, the technological waste generated during beneficiation was found to be comparable to KT-grade foundry coal, indicating its potential for industrial reuse. This represents a significant advantage from both environmental and economic perspectives.
Conclusion
As a result of the conducted research, the efficiency of beneficiating high-ash lignite coal through flotation was scientifically validated. According to the findings, the ash content decreased from 35–60% to 20–35% after beneficiation, while the recovery rate of combustible components increased up to 44–55%. The higher calorific value improved from 15.5–25.4 MJ/kg to 28.6–29.7 MJ/kg, confirming the effectiveness of the beneficiation technology. Moreover, the technological waste generated during the process was found to be suitable for reuse as KT-grade foundry coal, demonstrating its economic and environmental significance. As a scientific novelty, this study proposes for the first time the use of surface-active compositions derived from oil and fat industry waste to enhance coal flotation efficiency.
References:
- Kyzas, G. Z., & Matis, K. A. (2019). The flotation process can go green. Processes, 7(3). – PP. 138.
- Kucharov, A., Xalilov, S., Alikulova, M., Mamarasulov, T., Turayeva, K., Imanova, G., Saidova, M., & Farmonov, N. (2025). Scientific analysis of the development of new types of flotation reagents used in coal enrichment. EUREKA: Physics and Engineering, (2). – PP. 32-39. [Electronic resource] URL: https://doi.org/10.21303/2461-4262.2025.003742.
- Xia, W., Xie, G., & Peng, Y. (2015). Recent advances in beneficiation for low rank coals. Powder Technology, 277. – PP. 206-221.
- Lu, W., Zhu, M., Ding, C., Li, X., Ma, J., Qi, Y., & Guo, M. (2025). Volatile fingerprint and multivariate odor evaluation of gasification slag and natural coal resources using gas chromatography–ion mobility spectrometry and gas chromatography–mass spectrometry characterization. Microchemical Journal, 208. – PP. 112-601.
- Kucharov, Azizbek, et al. ‘Development of technology for water concentration of brown coal without use and use of red waste in this process as a raw material for colored glass in the glass industry.’ E3S Web of Conferences. Vol. 264. EDP Sciences, 2021.
- Azizbek, K., Farkhod, Y., Sanjar, K., & Sukhrob, Y. (2025). Technology for processing coal and converting it into an energy source by extracting gas. Austrian Journal of Technical and Natural Sciences, (3-4). – PP. 32-36.
- Wang, S., Wang, D., Tang, Y., Sun, Y., Jiang, D., & Su, T. (2017). Study of pyrolysis behavior of hydrogen-rich bark coal by TGA and Py-GC/MS. Journal of Analytical and Applied Pyrolysis, 128. – PP. 136-142.
- Usmanov, R. M., Abdikamalova, A. B., Eshmetov, I. D., Kuldasheva, S. A., Eshmetov, R. J., & Sharipova, A. I. (2020). Obtaining coal adsorbents based on local wood waste, research of their physico-chemical and adsorption properties. Journal of Critical Reviews, 7(12). – PP. 128-135.
- Qurbonov, А., Kucharov, A., & Yusupov, F. (2024, March). Development of a technology for obtaining an anti-corrosion coating for gas pipelines. In AIP Conference Proceedings (Vol. 3102, No. 1). AIP Publishing.
- Zhou, F., Yan, C., Wang, H., Zhou, S., & Liang, H. (2017). The result of surfactants on froth flotation of unburned carbon from coal fly ash. Fuel, 190. – PP. 182-188.
- Sis, H., Ozbayoglu, G., & Sarikaya, M. (2004). Utilization of fine coal tailings by flotation using ionic reagents. Energy Sources, 26(10). – PP. 941-949.
- Jurayevna, J. D., & Zuvurovich, T. O. (2016). The obtainment of carbon adsorbents and their compositions for cleaning industrial wastewater. Austrian journal of technical and natural sciences, (3-4). – PP. 67-70.
- Kocharov, A. A., et al. ‘Scientific Analysis of the Ecological Condition of the Soils Around the Angren Coal Mine.’ International Congress on Biological, Physical and Chemical Studies (ITALY). 2024.
- Wu, F., Liu, Y., & Gao, R. (2024). Challenges and opportunities of energy storage technology in abandoned coal mines: A systematic review. Journal of Energy Storage, 83. – PP. 110-613.
/Kucharov.files/image002.jpg)
/Kucharov.files/image009.jpg)
/Kucharov.files/image007.jpg)
/Kucharov.files/image008.jpg)