доцент, Ташкентский химико-технологический институт, Республика Узбекистан, г. Ташкент
ЭНЕРГИЯ АКТИВАЦИИ ДИСУЛЬФИДА МОЛИБДЕНА ПРИ ОКИСЛЕНИИ АЗОТНОЙ КИСЛОТОЙ
АННОТАЦИЯ
В процессе производства молибдена окисление сульфидов металлов в составе сырья – молибденитового концентрата, не всегда происходит полностью, что может негативно сказываться на эффективности гидрометаллургических этапов производства и качестве товарного продукта. Другим важным элементом технологии молибдена является степень извлечения молибдена на этапе гидрохимического выщелачивания. Для выявления кинетических характеристик его реакций изучена роль температуры среды и скорости вращения диска, сформированного прессованием из порошков чистого MoS₂ и молибденитового концентрата. В ходе исследования выявлены основные факторы, управляющие процессом окислительного выщелачивания сульфидных компонентов дисков, проведен их детальный анализ. На основе полученных результатов разработаны рекомендации по оптимизации процесса окисления, способствующие повышению эффективности производства.
ABSTRACT
In the process of molybdenum production, oxidation of metal sulfides in the composition of raw materials - molybdenite concentrate, does not always occur completely, which can negatively affect the efficiency of hydrometallurgical stages of production and the quality of the commercial product. Another important element of molybdenum technology is the degree of molybdenum extraction at the stage of hydrochemical leaching. To identify the kinetic characteristics of its reactions, the role of the environment temperature and the rotation speed of the disk formed by pressing from pure MoS₂ powders and molybdenite concentrate was studied. In the course of the study, the main factors controlling the process of oxidative leaching of sulfide components of disks were identified, their detailed analysis was carried out. Based on the results obtained, recommendations were developed for optimizing the oxidation process, contributing to an increase in production efficiency.
Ключевые слова: сульфидные минералы, МоS2, реагентное окисление, выщелачивание, азотная кислота.
Key words: sulfide minerals, MoS2, reagent oxidation, leaching, nitric acid.
Введение
Переработка руд редких металлов начинается с окисления сульфидных минералов [1-3]. На «Алмалыкском ГМК» обогащенное сырье – промышленный продукт молибденовый (ППМ) содержит, помимо дисульфида молибдена, примеси. Изучались процессы их гидро- и пирометаллургического окисления [4-6]. Для понимания деталей механизма реакций окислительной деструкции сульфидных компонентов сырья, важно знать кинетику окисления чистого MoS2, в сравнении с сульфидными фазами (MoS2, CuS, FeS) ППМ [7-9]. Для выявления кинетических закономерностей их окисления использован метод вращающегося диска. Образцы дисков формировались прессованием из порошков синтетического 100% MoS2, а также молибденитового концентрата. Изучался переход Mo(VI) с поверхности дисков в выщелачивающий раствор, в присутствии окислителя, в зависимости от времени и скорости вращения дисков [10-13]. Целесообразно было, на основе предложенной ранее [4] модели анодного окисления сульфидных минералов в составе ППМ (процесс осуществлялся при анодном потенциале +850 мВ (х.с.э.), распространить выявленные особенности окислительной деструкции сульфидов молибдена, железа и меди на их реагентное окисление при редокс-потенциале водной среды +850 мВ (х.с.э.), с оценкой кинетических параметров процесса. Согласно модели [4], при деструкции поверхностного слоя сульфидного материала ППМ, Cu-, Fe–, Мо- ионы диффундируют из его кристаллической решетки наружу, обедняя его серой и уменьшая значение коэффициентов диффузии ионов, способствуя утолщению диффузионного слоя реакционной зоны. Отмечен «параболический» вид кинетической кривой выщелачивания дисульфида молибдена [14-15].
На основании вышеизложенного, целью исследования было выявление и сравнение кинетики окисления дисульфида молибдена в составе, как чистого 100%-го MoS₂, так и сульфидной фазы ППМ.
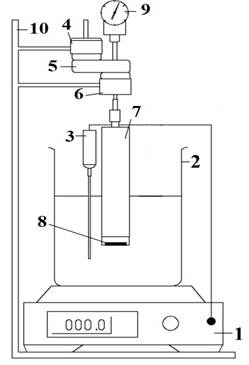
Методы и материалы изложены в [4]. Использована установка выщелачивания вращающегося диска (ВД) из MoS2 и ППМ, с контролем результата методами элемент-аналитических измерений [12] (рис.).
/Safarov.files/image001.jpg)
Рисунок 1.Установка выщелачивания
Обозначение: 1 - нагреватель, 2 -реактор, 3 - термометр, 4 - электродвигатель, 5 - шестеренчатый редуктор, 6 - обойма с подшипниками, 7 - фторопласт, 8 - диск, 9 - тахометр, 10 – штатив
На ней проводился процесс окислительного выщелачивания материалов дисков из синтетического MoS₂ (100%) и ППМ. Кинетика реакций окисления контролировалась в зависимости от времени и скорости вращения диска.
В реакторе диск устанавливался на определенную скорость вращения (0, 140, 480, 840 об/мин), через определенные интервалы времени (180, 300, 900, 1800, 3600 сек) отбирались пробы выщелачивающего раствора. Концентрация ионов Mo(VI) в растворе определялась фотоколориметрическим и спектрометрическим методами (ААС Perkin-Elmer 3030B, Agilent 7500 ICP MS).
Результаты и их обсуждение.
Кинетику реагентного растворения МoS2 изучали методом вращающегося диска (ВД) в растворах состава, %: 25 HNO3, 5H2SO4., с расчетом удельной скорости процесса выщелачивания: W (моль·дм–2·с–1). Она характеризует количество вещества Δn (моль), переходящее в раствор с единицы площади поверхности диска S (дм2) за единицу времени Δτ (с). На W оказывают влияние следующие факторы: интенсивность перемешивания раствора, температура, концентрация реагента и продукта реакции, наличие примесей в растворе и в твердой фазе; лигандов переходящего в раствор металла, склонного к комплексообразованию, парциальное давление участвующих во взаимодействии газов над раствором. Задачами исследования, в этих условиях, были: построение кинетических зависимостей растворения ВД из МoS2, расчет их параметров и подтверждение диффузионного контроля реакции окисления МoS2, установленного электрохимическим способом [4], сравнение кинетических характеристик чистого МoS2 с аналогичными показателями МoS2 в составе ППМ (рис. 2-4).
Задачами исследования, в этих условиях, были: построение кинетических зависимостей растворения ВД из МoS2, расчет их параметров и подтверждение диффузионного контроля реакции окисления МoS2, установленного электрохимическим способом [4], сравнение кинетических характеристик чистого МoS2 с аналогичными показателями МoS2 в составе ППМ (рис. 2-4).
|
W (моль·дм2·s-1) |
|
W (моль·дм2·s-1) |
|
|
|
τ, (сек) |
|
τ, (сек) |
|
W (моль·дм2·s-1) |
|
||
|
|
τ, (сек) |
||
Рисунок 2. Зависимость W(mol·dm–2·s–1) окисления MoS2 (расчет по Мо(VI) в 25% HNO3+5% H2SO4+O2,a, b, с – температура, 0C:24,45,70; ω – угловая скорость вращения: 0-840об/мин, 1) 840; 2) 480; 3) 140; 4) 0
|
W (моль·дм2·s-1) |
|
W (моль·дм2·s-1) |
|
|
|
об/мин |
|
об/мин |
|
W (моль·дм2·s-1) |
|
||
|
|
об/мин |
||
Рисунок 3. Зависимость W(mol·dm–2·s–1) окисления MoS2 расчет по Мо(VI), от ω, в 25% HNO3+5% H2SO4+O2,при температуре: а,b,с, 0C:24, 45, 70; ω - угловая скорость вращения: 0-840 об/мин; t – время, сек: 1-3600; 2-1800; 3-900; 4-300; 5-180
Для построения этих зависимостей использовали следующие расчеты растворения дисульфида молибдена во вращающемся диске:
(1)
где: V – общий объем раствора, см3; vi – объем i-й пробы, см3; qi – масса металла в i-й пробе, г; n – количество проб; mi – масса растворенного материала к моменту после отбора i-й пробы, г. Количество металла, перешедшего в раствор с 1 дм2 ВД, Qi (моль·дм–2) определяли по (2):
(2)
где М – молярная масса металла, г∙моль–1. Строили кинетические кривые: Qi = f(τ), по тангенсу угла наклона которой находили скорость растворения W.
Прямолинейные участки, с изломами, на графических зависимостях рис. 1-3 подтверждают диффузионный (смешанный в местах изломов) контроль реакций окисления МoS2, установленный электрохимическим способом [4].
|
W (моль·дм2·s-1) |
|
W (моль·дм2·s-1) |
|
|
|
Температура, 0С |
|
Температура, 0С |
|
W (моль·дм2·s-1) |
|
W (моль·дм2·s-1) |
|
|
|
Температура, 0С |
|
Температура, 0С |
Рисунок 4. Зависимость W(mol·dm–2·s–1) окисления MoS2 (расчет по Мо(VI) от температуры, в растворе состава: 25% HNO3+5% H2SO4+O2,где a, b, с, d - ω, об/мин, соответственно: 0, 140, 480; 840; обозначения 1,2,3,4,5 соответствуют t – времени отбора проб, сек: 1-3600; 2-1800; 3-900; 4-300; 5-180
На основе зависимости скорости выщелачивания молибдена из МоS2 в растворе 25% HNO3 (W), при 24 и 45, 70 оС рассчитаны значения энергии активации E*aкт реакции растворения МoS2 по ионам Мо(VI) (табл. 1-3).
E*aкт находили из зависимости констант скорости процессов от обратной температуры, по уравнению Аррениуса, для значений угловой скорости и времени отбора проб, начиная с момента погружения ВД в электролит, в диапазоне 0-1800 сек.
Таблица 1.
Энергия активации Ea [кДж∙моль-1] реакции растворения МоS2 в растворе состава, %: HNO3-25, Н2SO4-5, при доступе к раствору О2; рассчитанная для угловой скорости ВД (мин-1): 0, 140, 480, 840, при фиксированных значениях температуры, Т оС: 24,0; 70,0.
|
Время, сек |
Т, 0С |
W, моль·дм–2·с–1 , ω об в мин = 0 |
W, моль·дм–2·с–1 , ω об в мин = 140 |
W, моль·дм–2·с–1 , ω об в мин = 480 |
W, моль·дм–2·с–1 , ω об в мин = 840 |
|
180 |
24 |
1·10-7 |
1,8·10-7 |
3,67·10-7 |
9,24·10-7 |
|
70 |
8,3·10-5 |
9,03·10-5 |
1,14·10-4 |
2,12·10-4 |
|
|
Ea |
284,84 |
263,5 |
243,2 |
230,35 |
|
|
300 |
24 |
2,6·10-7 |
1,72·10-6 |
2,3·10-6 |
5,6·10-6 |
|
70 |
2,1·10-5 |
1,1·10-4 |
1,47·10-4 |
2,27·10-4 |
|
|
Ea |
186 |
176,22 |
176,2 |
156,9 |
|
|
900 |
24 |
0,8·10-6 |
2,33·10-6 |
4,44·10-6 |
8,6·10-6 |
|
70 |
4,3·10-5 |
1,6·10-4 |
2,56·10-4 |
3,78·10-4 |
|
|
Ea |
180 |
179,23 |
171,82 |
160,32 |
|
|
1800 |
24 |
2,86·10-6 |
1,04·10-5 |
5,6·10-6 |
1,86·10-6 |
|
70 |
2,08·10-4 |
6,62·10-4 |
2,86·10-4 |
4,41·10-5 |
|
|
Ea |
181,66 |
176 |
166,7 |
134,16 |
|
|
3600 |
24 |
1,1·10-5 |
1,98·10-6 |
4,85·10-6 |
8,9·10-6 |
|
70 |
8,61·10-4 |
1,44·10-4 |
3,16·10-4 |
4,47·10-4 |
|
|
Ea |
184,78 |
181,67 |
177 |
166 |
Таблица 2.
Энергия активации Ea[кДж∙моль-1] реакции растворения МоS2 в растворе состава, %: HNO3-25, Н2SO4-5, при доступе к раствору О2; рассчитанная для угловой скорости ВД (мин-1): 0, 140, 480, 840, при фиксированных значениях температуры, Т оС: 45,0 и 70,0.
|
t, сек |
Т, 0С |
W, моль·дм–2·с–1,ω об в мин = 0 |
W, моль·дм–2·с–1 , ω об в мин = 140 |
W, моль·дм–2·с–1 , ω об в мин = 480 |
W, моль·дм–2·с–1 , ω об в мин = 840 |
|
180 |
45 |
2,83·10-5 |
3,85·10-6 |
1,1·10-4 |
6,8·10-5 |
|
70 |
9,03·10-5 |
1.11·10-5 |
2,12·10-4 |
1,14·10-4 |
|
|
Ea |
96,84 |
88,376 |
54,76 |
43,12 |
|
|
300 |
45 |
4,12·10-5 |
7,74·10-5 |
1,21·10-4 |
1,16·10-5 |
|
70 |
1,1·10-4 |
1,47·10-4 |
2,27·10-4 |
1,5·10-5 |
|
|
Ea |
81,96 |
53,53 |
52,51 |
21,45 |
|
|
900 |
45 |
8,38·10-5 |
1,32·10-4 |
6,5·10-5 |
2,26·10-5 |
|
70 |
2,56·10-4 |
3,78·10-4 |
1,6·10-4 |
2,45·10-5 |
|
|
Ea |
93,2 |
87,81 |
75,18 |
6,73 |
|
|
1800 |
45 |
1,47·10-4 |
9,7·10-5 |
8,94·10-5 |
4,41·10-5 |
|
70 |
6,62·10-4 |
2,86·10-4 |
2,08·10-4 |
4,93·10-5 |
|
|
Ea |
125,59 |
90,24 |
70,47 |
9,3 |
|
|
3600 |
45 |
1·10-4 |
1,15·10-4 |
1,2·10-4 |
1,68·10-4 |
|
70 |
2,44·10-4 |
3,16·10-4 |
4,47·10-4 |
8,61·10-4 |
|
|
Ea |
136,38 |
109,75 |
84,36 |
74,4 |
Таблица 3.
Энергия активации Ea[кДж∙моль-1] реакции растворения МоS в растворе, %: HNO3-25, Н2SO4-5, при доступе к раствору О2; рассчитанная для угловой скорости ВД (мин-1): 0, 140, 480, 840, при фиксированных значениях температуры, Т оС: 24,0 и 45,0
|
t, сек |
Т, 0С |
W, моль·дм–2·с–1ω об в мин = 0 |
W, моль·дм–2·с–1, ω об в мин = 140 |
W, моль·дм–2·с–1, ω об в мин = 480 |
W, моль·дм–2·с–1 , ω об в мин = 840 |
|
180 |
24 |
3,67·10-7 |
1,8·10-7 |
9,24·10-7 |
8,03·10-7 |
|
45 |
6,8·10-5 |
2,83·10-5 |
1,1·10-4 |
3,85·10-6 |
|
|
Ea |
449,57 |
435,44 |
411,5 |
134,95 |
|
|
300 |
24 |
2,3·10-6 |
1,72·10-6 |
5,6·10-6 |
9,17·10-7 |
|
45 |
7,74·10-5 |
4,12·10-5 |
1,21·10-4 |
1,5·10-5 |
|
|
Ea |
302,72 |
273,44 |
264,57 |
240,6 |
|
|
900 |
24 |
2,33·10-6 |
4,44·10-6 |
1,57·10-6 |
8,6·10-6 |
|
45 |
6,5·10-5 |
8,38·10-5 |
2,86·10-5 |
1,32·10-4 |
|
|
Ea |
286,56 |
253 |
249,87 |
235,127 |
|
|
1800 |
24 |
2,86·10-6 |
1,86·10-6 |
5,6·10-6 |
1,04·10-5 |
|
45 |
8,94·10-5 |
4,93·10-5 |
9,7·10-5 |
1,47·10-4 |
|
|
Ea |
296,36 |
282,16 |
245,53 |
228 |
|
|
3600 |
24 |
1,98·10-6 |
4,85·10-6 |
1,1·10-5 |
8,9·10-6 |
|
45 |
1·10-4 |
1,15·10-4 |
1,68·10-4 |
1,2·10-4 |
|
|
Ea |
337,67 |
272,57 |
234,7 |
224 |
Проведено сравнение кинетических характеристик чистого МoS2 с аналогичными показателями МoS2 в составе ППМ (табл. 4).
Таблица 4.
Энергия активации Ea[кДж∙моль-1] реакции растворения МоS2 (в ППМ) и чистом МоS2 в растворе, %: HNO3-25, Н2SO4-5, при доступе к раствору О2; рассчитанная для угловой скорости ВД (мин-1): 0, 140, 480, 840, при фиксированных значениях температуры, Т оС: 24,0 и 45,0
|
τ, сек |
МоS2 в составе ППМ |
Чистый 100 % МоS2 |
|
W, моль·дм–2·с–1 , ω об в мин = 0 |
||
|
180 |
24,46 |
284,84 |
|
300 |
40,55 |
186,00 |
|
1800 |
30,12 |
181,66 |
|
W, моль·дм–2·с–1 , ω об в мин = 480 |
||
|
180 |
30,71 |
243,20 |
|
300 |
34,75 |
176,20 |
|
1800 |
34,66 |
166,70 |
|
W, моль·дм–2·с–1 , ω об в мин = 840 |
||
|
180 |
36,65 |
230,35 |
|
300 |
35,80 |
156,90 |
|
1800 |
37,82 |
134,16 |
Из нее следует, что 100%-ый МoS2 характеризуется на порядок большей энергией активации, чем ППМ. Вероятная причина такой разницы в значениях энергии активации реакции выщелачивания заключается в различной концентрации молибденита в этих образцах: 100% в первом случае и 38-40% его же в промышленном продукте молибденовом (ППМ), где, помимо молибденита, содержатся сульфиды железа и меди. А энергия активация реакции выщелачивания, например, у FeS Еа = 38 кДж/моль, что вполне укладывается в диапазон значений Ea для ППМ (табл. 4).
Заключение.
Методом вращающегося диска, для окисления азотной кислотой дисульфида молибдена, в составе промпродукта молибденового и в чистом 100%-ом минерале, в растворе состава, %: 25 HNO3, 5 H2SO4, получены параметры кинетического уравнения реакции окислительного выщелачивания, а также значения энергии активации твердофазной диффузии ионов Мо(VI) из кристаллической решетки материала в жидкую фазу. Сравнив значения энергии активация в этих случаях, установлено, что синтетичекий 100%-ый дисульфид молибдена характеризуется на порядок большей энергией активации, чем промышленный продукт молибденовый, предположительно, за счет наличия в нем, помимо дисульфида молибдена, примесных сульфидов меди и железа.
Список литературы:
- Расулова С. Н., Гуро В. П., Рузиев У. Н., Адинаев Х. Ф., Сафаров Е. Т. Кинетика окисления сульфида меди азотной кислотой // Узб. хим. журн. - 2021. -№6. - С.13-20.
- Расулова С.Н., Гуро В.П. Кинетика реагентного окисления дисульфида молибдена в растворах гипохлорита натрия // Узб. хим. журн.-2020.-№6.- С.3-8.
- Flatt, J.R., 1996. The Kinetics of Pyrite and Elemental Sulfur Reactions During Nitric Acid Pre-Oxidation of Refractory Gold Ores. The University of Adelaide, South Australia, Australia (Ph.D.Thesis
- Расулова С.Н., Гуро В.П. Кинетика реагентного окисления сульфида молибдена всернокислом электролите. Часть 2. // Узб. хим. журн. - 2020. - №4. - С.3-10.
- Sobolev, A.E., Lutsik, V.I., Potashnikov, Y.M. The kinetics of hydrochemical oxidation of iron (II)persulfide (pyrite) by nitric acid. Russ.// J. Phys. Chem. -2001.-A 75. -757–759.
- Rogozhnikov, D., Karimov, K., Shoppert, A., Dizer, O., Naboichenko, S. Kinetics and mechanismof arsenopyrite leaching in nitric acid solutions in the presence of pyrite and Fe(III)ions.//Hydrometallurgy.-2021.-199,105525. https://doi.org/10.1016/j. hydromet. 2020. 105525.
- Зеликман. А. Н. Металлургияредкихметаллов. М.: Металлургия, 1980. 431с.
- Расулова, С. Н. Кинетика окисления сульфидного молибденитового концентрата в растворах гипохлорита натрия / С. Н. Расулова, В. П. Гуро // Инновационные материалы и технологии - 2021 : материалы Международной научно-технической конференции молодых ученых, Минск, 19-21 января 2021 г. - Минск : БГТУ, 2021. – С. 72-75.
- Расулова С.Н., Гуро В.П., Рузиев У.Н., Эрназаров У.Р., Адинаев Х.Ф., Ё.Т. Сафаров Кинетика реагентного окисления дисульфида молибдена азотной кислотой // Узб. хим. журн.-2021.-№2.- С.3-11.
- Shamsuddin, M. (2021). Hydrometallurgy. In: Physical Chemistry of Metallurgical Processes, Second Edition. The Minerals, Metals & Materials Series. Springer, Cham. https://doi.org/10.1007/978-3-030-58069-8_11
- Rogozhnikov D.A., Rusalev R.E., Dizer O.A., Naboychenko S.S. Nitric acid loosening ofrebellious sulfide concentrates containing precious metals. // Tsvetnye Metally. -2018. -12, 38–44.https://doi.org/10.17580/tsm.2018.12.05.
- Kuzas Evgeniy, Rogozhnikov Denis, Dizer Oleg etc. Kinetic study on arsenopyrite dissolution innitric acid media by the rotating disk method// Minerals Engineering 187 -2022. -107770. -Рр. 1-12, https://doi.org/10.1016/j.mineng.2022.107770 www.elsevier.com/locate/mineng,
- Каковский, И.А. Термодинамика и кинетика гидрометаллургических процессов, И.А. Каковский, С.С. Набойченко. Алматы (РК): Наука, 1986. -272 с.
- Marion P., Molliger P., Boiron M.C., Cathelineau M., Wagner F.E. New improvements in the characterization of refractory gold in pyrites: an electron microprobe, Mossbauer spectrometry and ion microprobe study // Brazil Gold'91, Balkema, Rotterdam. - 1991. - P. 889-895.
- Феттер К. Электрохимическая кинетика. - М.: Химия, - 1967. - 85
/Safarov.files/image002.jpg)
/Safarov.files/image003.jpg)
/Safarov.files/image004.jpg)
/Safarov.files/image005.jpg)
/Safarov.files/image006.jpg)
/Safarov.files/image007.jpg)
/Safarov.files/image010.jpg)
/Safarov.files/image011.jpg)
/Safarov.files/image012.jpg)
/Safarov.files/image013.jpg)